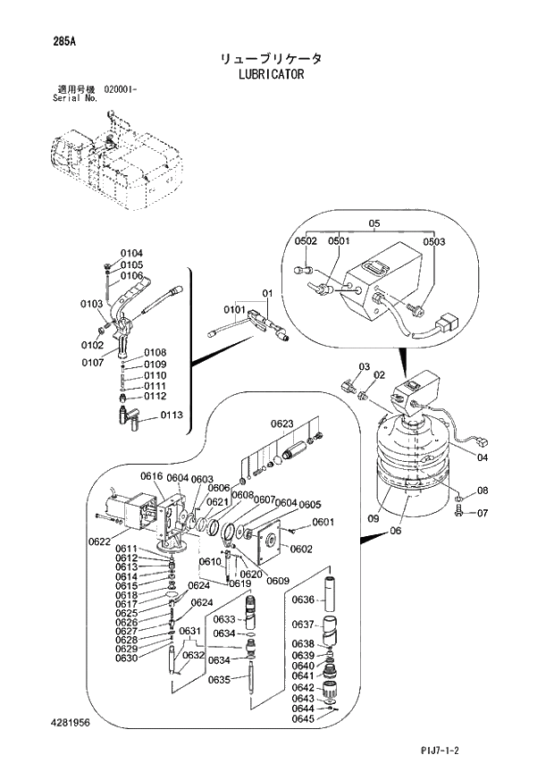
Запчасти Hitachi ZX650LC-3 285 LUBRICATOR (020001 -). 01 UPPERSTRUCTURE

Схема запчастей Hitachi ZX650LC-3 - 285 LUBRICATOR (020001 -). 01 UPPERSTRUCTURE
FIT
1:1
100%

Артикул

Название

Примечание

Количество

4281956

LUBRICATOR ASS'Y

1шт.

1

4353992

* GUN;GREASE

1шт.

101

4412914

** NOZZLE

1шт.

102

4467814

** NUT

1шт.

103

4467815

** BOLT

1шт.

104

4467816

** NUT;U

1шт.

105

4467817

** PACKING;U-RING

1шт.

106

4467818

** ROD

1шт.

107

4467819

** GUN;GREASE

1шт.

108

4467820

** BALL

1шт.

109

4467822

** PIN

1шт.

110

4467823

** SPRING

1шт.

111

4467824

** O-RING

1шт.

112

4467825

** UNION

1шт.

113

4467828

** JOINT;SWIVEL

1шт.

2

4353993

* UNION

1шт.

3

4353994

* VALVE

1шт.

4

4353995

* COVER

1шт.

5

4353996

* COVER

1шт.

501

4363398

** SWITCH

1шт.

502

4195610

** FUSE

1шт.

503

J450510

** SCREW;SEMS

6шт.

6

4353997

* PUMP

1шт.

601

4467754

** BOLT

4шт.

602

4467755

** COVER

1шт.

603

4467756

** CAM

1шт.

604

4467757

** STOPPER

2шт.

605

4467758

** BRG.;BALL

1шт.

606

4467759

** KEY

1шт.

607

4467760

** LINK

1шт.

608

4467668

** BRG.;NEEDLE

1шт.

609

4467764

** BRG.;BALL

2шт.

610

4467765

** ROD;CONNECTING

1шт.

611

4467766

** O-RING

1шт.

612

4467767

** O-RING

1шт.

613

4467768

** BUSHING

1шт.

614

4467769

** RING;BACKUP

1шт.

615

4467770

** PACKING;U-RING

1шт.

616

4467771

** CASE

1шт.

617

4467772

** O-RING

1шт.

618

4467773

** GLAND

1шт.

619

4467774

** PIN

1шт.

620

4467775

** RING;STOPPER

2шт.

621

4467777

** RACE;INNER

1шт.

622

4467778

** MOTOR

1шт.

623

4467779

** VALVE;RELIEF

1шт.

624

4467780

** PIN

3шт.

625

4467784

** UNION

1шт.

626

4467785

** ROD;CONNECTING

1шт.

627

4467786

** UNION

1шт.

628

4467787

** WASHER

1шт.

629

4467788

** SPRING

1шт.

630

4467789

** BALL

1шт.

631

4467790

** CYL.

1шт.

632

4467791

** PIN;SPRING

1шт.

633

4467792

** TUBE

1шт.

634

4467793

** WASHER

2шт.

635

4467794

** ROD

1шт.

636

4467795

** TUBE

1шт.

637

4467796

** TUBE

1шт.

638

4467804

** WASHER

1шт.

639

4467797

** VALVE

1шт.

640

4467798

** SEAT;VALVE

1шт.

641

4467799

** ADAPTER

1шт.

642

4467800

** TUBE

1шт.

643

4467805

** STOPPER

1шт.

644

4467801

** NUT

1шт.

645

4467802

** PIN;SPLIT

1шт.

7

M430610

* SCREW

3шт.

8

A590906

* WASHER;SPRING

3шт.

9

4354003

* CAP

1шт.

Выбрано товаров: 71