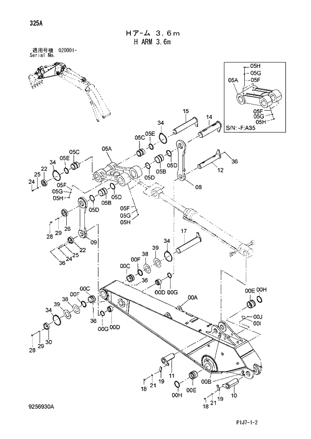
Запчасти Hitachi ZX670LCR-3 325 H ARM 3.6m (020001 -). 03 FRONT-END ATTACHMENT

Схема запчастей Hitachi ZX670LCR-3 - 325 H ARM 3.6m (020001 -). 03 FRONT-END ATTACHMENT
FIT
1:1
100%

Артикул

Название

Примечание

Количество

00A-J

9256929

ARM ASS'Y

1шт.

00A

5010314

* ARM

1шт.

00B

4379221

** STOPPER

2шт.

00C

4421175

* BUSHING

2шт.

00D

4129729

* BUSHING

2шт.

00E

4218719

* BUSHING

2шт.

00F

4254520

* SEAL;DUST

2шт.

00G

4251212

* SEAL;DUST

2шт.

00H

4251766

* SEAL;DUST

2шт.

00I

+++++++

* NAME-PLATE

1шт.

00J

M492564

* SCREW;DRIVE

4шт.

05A-H

9256932

LINK A

I - F:A35

1шт.

05A-H

9275606

LINK A

F:A36 -

1шт.

05A

7049432

* LINK

I - F:A35

1шт.

05A

1033841

* LINK

F:A36 -

1шт.

05B

4234708

* BUSHING

2шт.

05C

4474098

* BUSHING

2шт.

05D

4251753

* SEAL;DUST

4шт.

05E

4324194

* SEAL;DUST

2шт.

05F

J75481

* FITTING;GREASE

- F:A35

8шт.

05F

J75481

* FITTING;GREASE

F:A36 -

4шт.

05G

4130686

* COLLAR

- F:A35

8шт.

05G

4130686

* COLLAR

F:A36 -

4шт.

05H

4105912

* CAP

- F:A35

8шт.

05H

4105912

* CAP

F:A36 -

4шт.

8

8065547

LINK

1шт.

9

8065548

LINK

1шт.

10

8102736

PIN

1шт.

11

8102807

PIN

1шт.

12

8102808

PIN

1шт.

14

8101371

PIN

1шт.

15

8102813

PIN

1шт.

17

8102806

PIN

1шт.

18

J912045

BOLT

4шт.

19

4122729

PLATE

2шт.

21

J222020

WASHER

4шт.

22

4393378

STOPPER

2шт.

24

J241645

BOLT

6шт.

25

J222016

WASHER

6шт.

26

4393383

STOPPER

1шт.

28

J912050

BOLT

6шт.

29

J222020

WASHER

6шт.

30

4393381

STOPPER

1шт.

34

4487585

O-RING

4шт.

36

J75481

FITTING;GREASE

4шт.

38

4379157

PLATE;THRUST 1.0mm

2шт.

39

4379158

PLATE;THRUST 2.0mm

2шт.

Выбрано товаров: 0