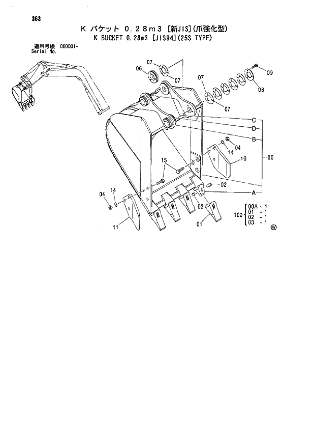
Запчасти Hitachi ZX80LCK 363 K BUCKET 0.28m3 (JIS94)(25S TYPE) 03 MONO BOOM ATTACHMENTS

Схема запчастей Hitachi ZX80LCK - 363 K BUCKET 0.28m3 (JIS94)(25S TYPE) 03 MONO BOOM ATTACHMENTS
FIT
1:1
100%

Артикул

Название

Примечание

Количество

4466250

BUCKET

1шт.

00

D

* BUCKET

1шт.

00A

W/K

** ADAPTER

4шт.

00B

W

** STOPPER

2шт.

00C

W

** BOSS

2шт.

00D

W

** BOSS

1шт.

01

K

* POINT;TOOTH

4шт.

02

K

* PIN;LOCK

4шт.

03

K

* RUBBER PIN LOCK

4шт.

04

J953020

* NUT

6шт.

06

4458506

* BOSS

1шт.

07

R

* SHIM 1.0mm

12шт.

08

4374408

* PLATE

1шт.

09

M341050

* BOLT;SOCKET

3шт.

10

3053595

* CUTTER;SIDE

1шт.

11

3053596

* CUTTER;SIDE

1шт.

14

A590920

* WASHER;SPRING

6шт.

15

4400608

* BOLT

6шт.

100

9168695

KIT;POINT

4шт.

Выбрано товаров: 19