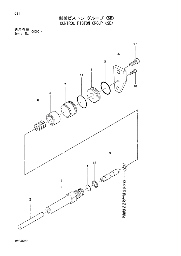
Запчасти Hitachi ZX80SBLC 031 CONTROL PISTON GROUP SB 01 PUMP

Схема запчастей Hitachi ZX80SBLC - 031 CONTROL PISTON GROUP SB 01 PUMP
FIT
1:1
100%

Артикул

Название

Примечание

Количество

D

CONTROL PISTON GROUP

1шт.

1

D

* CYL.

1шт.

2

D

* PISTON

1шт.

3

D

* PISTON

1шт.

4

0825801

* O-RING

1шт.

5

0825802

* O-RING

1шт.

6

D

* PISTON

1шт.

7

D

* SLEEVE

1шт.

8

D

* SPRING;FLUSH

4шт.

9

D

* RETAINER

1шт.

11

0825803

* O-RING

1шт.

12

0825804

* RING;BACK-UP

1шт.

13

R/D

* SHIM 1.1

1шт.

14

R/D

* SHIM 1.2

1шт.

15

R/D

* SHIM 1.3

1шт.

16

0825805

* PLATE

1шт.

17

0627910

* BOLT;SOCKET

2шт.

18

0439402

* BOLT;SOCKET

1шт.

19

R/D

* SHIM 0.75

1шт.

20

R/D

* SHIM 0.8

1шт.

21

R/D

* SHIM 0.85

1шт.

22

R/D

* SHIM 0.9

1шт.

23

R/D

* SHIM 0.95

1шт.

24

R/D

* SHIM 1.0

1шт.

25

R/D

* SHIM 1.05

1шт.

26

R/D

* SHIM 1.15

1шт.

27

R/D

* SHIM 1.25

1шт.

Выбрано товаров: 27