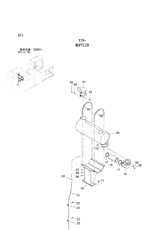
Запчасти Hitachi ZX850LC-3 017 MUFFLER (020001 -). 01 UPPERSTRUCTURE

Схема запчастей Hitachi ZX850LC-3 - 017 MUFFLER (020001 -). 01 UPPERSTRUCTURE
FIT
1:1
100%

Артикул

Название

Примечание

Количество

0

4639577

MUFFLER

1шт.

1

8086588

PIPE;EXHAUST

1шт.

2

J921050

BOLT

1шт.

3

M520010

NUT

2шт.

5

4641442

BOLT;U

2шт.

6

M520012

NUT

16шт.

7

A590112

WASHER;PLANE

4шт.

10

7048828

BRACKET

1шт.

11

J281235

BOLT;SEMS

4шт.

11A

J901235

* BOLT

1шт.

11B

4249324

* WASHER

1шт.

13

J901245

BOLT

4шт.

15

8101493

PIPE

T

1шт.

@111

15

8112481

PIPE;EXHAUST

1шт.

16

9764726

PIPE

T

1шт.

@222

16

9766002

PIPE

1шт.

17

4272539

RING;SEAL

2шт.

21

4639572

TUBE

1шт.

22

J271025

BOLT;SEMS

2шт.

22A

J901025

* BOLT

1шт.

22B

J222010

* WASHER

1шт.

23

4344303

CLIP

2шт.

24

4508575

CLAMP;HOSE

1шт.

Выбрано товаров: 25