Запчасти Hitachi ZX870R-3 035 VALVE PILOT (020001-). 03 VALVE

Схема запчастей Hitachi ZX870R-3 - 035 VALVE PILOT (020001-). 03 VALVE
FIT
1:1
100%

Артикул

Название

Примечание

Количество

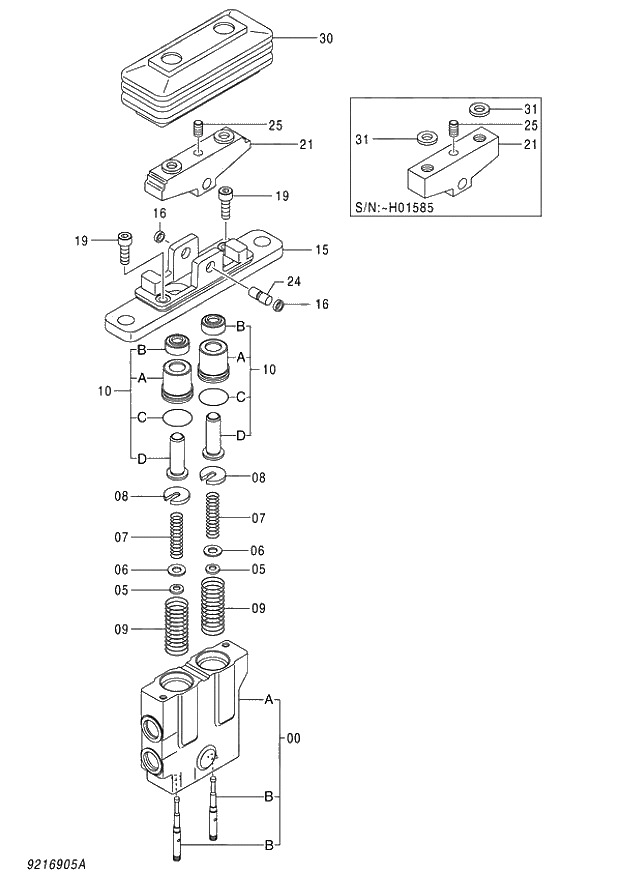
9216905

VALVE;PILOT

1шт.

0

8088360

* CASING

1шт.

00A

+++++++

** CASING

1шт.

00B

+++++++

** SPOOL

2шт.

5

4319299

* SPACER

2шт.

6

4203411

* SHIM 0.1mm

6шт.

7

4474214

* SPRING;COMPRES.

2шт.

8

4474218

* GUIDE;SPRING

I 0

2шт.

8

4682361

* GUIDE;SPRING

H16840-

2шт.

9

4479053

* SPRING;COMPRES.

2шт.

10

9214706

* PUSHER ASS'Y

2шт.

10A

3095375

** BUSHING

1шт.

10B

4447050

** SEAL;OIL

1шт.

10C

4269615

** O-RING

1шт.

10D

9758896

** PUSHER

1шт.

15

2048256

* HOLDER

1шт.

16

4480261

* BUSHING

2шт.

19

J780625

* BOLT;SOCKET

2шт.

21

4474216

* CAM

0

1шт.

21

4609781

* CAM

H01586-

1шт.

24

4474217

* PIN

1шт.

25

4209728

* SCREW;SET

1шт.

30

2048374

* BOOT

1шт.

31

4482606

* SPACER

0

2шт.

Выбрано товаров: 24