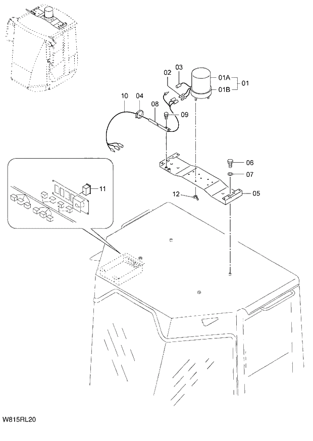
Запчасти Hitachi ZW180 152 YELLOW ROTARY BEACON (6CF,HCF) (RLY201) (005101-007999). 05 ELECTRICAL SYSTEM

Схема запчастей Hitachi ZW180 - 152 YELLOW ROTARY BEACON (6CF,HCF) (RLY201) (005101-007999). 05 ELECTRICAL SYSTEM
FIT
1:1
100%

Артикул

Название

Примечание

Количество

1

56111-62392

REVOLVING LAMP

1шт.

01A

56190-57261

* BULB

1шт.

01B

56190-57181

* GLOBE

1шт.

2

58490-50931

TERMINAL

2шт.

3

58490-50941

TERMINAL

1шт.

4

04913-11200

INSHULOCK

2шт.

5

56401-64423

BRACKET

1шт.

6

01110-16025

BOLT

2шт.

7

02010-00016

WASHER

2шт.

8

563G2-43021

PIPE

1шт.

9

01183-10020

BOLT

2шт.

10

563G2-43071

WIRE HARNESS

1шт.

11

563G2-42041

SWITCH

1шт.

12

01421-00008

NUT WING

3шт.

Выбрано товаров: 0