Запчасти Hitachi ZW180 187 OIL TANK (000101-004999, 005101-). 06 HYDRAULIC SYSTEM

Схема запчастей Hitachi ZW180 - 187 OIL TANK (000101-004999, 005101-). 06 HYDRAULIC SYSTEM
FIT
1:1
100%

Артикул

Название

Примечание

Количество

1

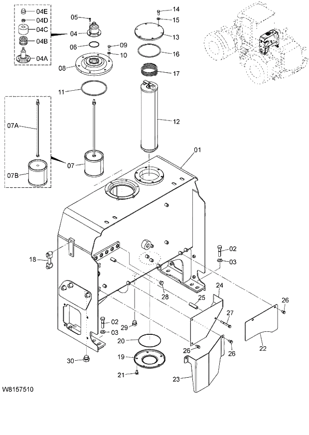
263F7-50101

OIL TANK

005101-005102

1шт.

@111

000101-000105

1

263F7-50102

OIL TANK

I 005103-005290

1шт.

@222

008101-008250

@333

000106-000423

1

263F7-50103

OIL TANK

005291-007999

1шт.

@444

008251-

@555

000424-004999

2

01119-16065

BOLT

6шт.

3

190A3-02051

WASHER

6шт.

4

HL4434017

BREATHER AIR

1шт.

04A

HL4437833

* BODY

1шт.

04B

HL4437838

* ELEMENT

1шт.

04C

HL4437837

* COVER

1шт.

04D

HL4371825

* NUT

1шт.

04E

HL4437836

* CAP

1шт.

5

26197-52191

BOLT SOCKET

4шт.

6

03310-00600

O-RING

1шт.

7

263F7-52091

FILTER SUCTION

1шт.

07A

HL4349038

* ROD

1шт.

07B

263F7-57011

* STRAINER

1шт.

8

HL9184556

COVER

1шт.

9

01110-10025

BOLT

6шт.

10

02000-00010

WASHER

6шт.

11

03310-01600

O-RING

1шт.

12

HL4443596

ELEMENT FILTER

1шт.

13

HL4443782

COVER

1шт.

14

01110-10025

BOLT

6шт.

15

02000-00010

WASHER

6шт.

16

03300-01400

O-RING

1шт.

17

HL4444482

SPRING

1шт.

18

26607-52261

GAUGE LEVEL

I 005101-005286

1шт.

@666

008101-008250

@777

000101-000423

18

263G7-52421

GAUGE LEVEL

005287-007999

1шт.

@888

008251-

@999

000424-004999

19

HL8023981

COVER

005101-005102

1шт.

@101010

000101-000105

19

26197-52371

COVER

005103-007999

1шт.

@111111

008101-

@121212

000106-004999

20

03310-01600

O-RING

005101-005102

1шт.

@131313

000101-000105

20

03310-01450

O-RING

005103-007999

1шт.

@141414

008101-

@151515

000106-004999

21

01183-10020

BOLT

5шт.

22

263F7-52101

PLATE

1шт.

23

263F7-52111

BRACKET

1шт.

24

263J7-52161

COVER

1шт.

25

263J7-52181

COLLER

1шт.

26

01183-10020

BOLT

6шт.

27

01183-10080

BOLT

1шт.

28

HLA885003

PLUG

1шт.

28A

03320-00140

* O RING

1шт.

29

HLA885004

PLUG

1шт.

29A

03320-00180

* O RING

1шт.

30

HLA885006

PLUG

1шт.

30A

03320-00240

* O RING

1шт.

Выбрано товаров: 60