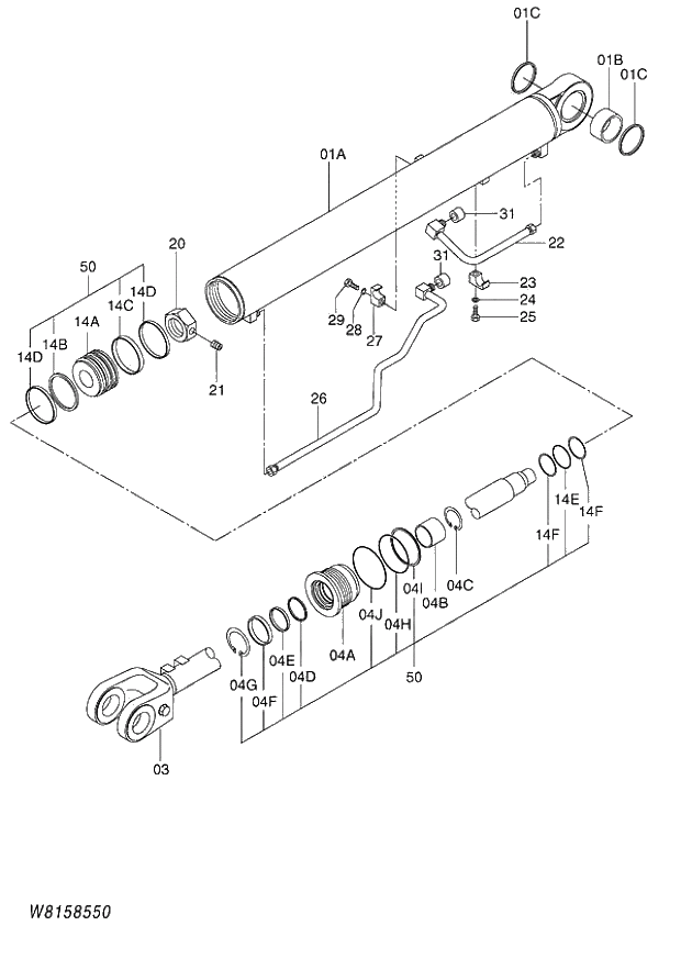
Запчасти Hitachi ZW180 271 CYLINDER BUCKET (LEFT) (HLF,HPF) (000101-004999, 008101-). 04 CYLINDER

Схема запчастей Hitachi ZW180 - 271 CYLINDER BUCKET (LEFT) (HLF,HPF) (000101-004999, 008101-). 04 CYLINDER
FIT
1:1
100%

Артикул

Название

Примечание

Количество

563F8-52021

CYLINDER BUCKET;LH

1шт.

1

563F8-57251

* TUBE ASSY

1шт.

01A

563F8-57011

** TUBE

1шт.

01B

HL4445478

** BUSHING

1шт.

01C

263G8-47261

** WIPER;PIN

2шт.

3

563F8-57021

* ROD

1шт.

4

563F8-57181

* ROD COVER ASSY

1шт.

04A

563F8-57031

** COVER;ROD

1шт.

04B

263E8-47041

** DD-BUSHING

1шт.

04C

263E8-47051

** RING;RETAINING

1шт.

04D

263E8-47061

** SEAL;BUFFER

1шт.

04E

263E8-47071

** U-PACKING

1шт.

04F

263E8-47081

** WIPER;DUST

1шт.

04G

263F8-47051

** RING;RETAINING

1шт.

04H

03350-01050

** O-RING

1шт.

04I

563F8-57041

** RING;BACK UP

1шт.

04J

03350-01100

** O-RING

1шт.

14

563F8-57191

* PISTON ASSY

1шт.

14A

563F8-57051

** PISTON

1шт.

14B

563F8-57061

** RING;GLYD

1шт.

14C

563F8-57071

** RING;WEAR

1шт.

14D

563F8-57081

** RING;DUST

2шт.

14E

03350-00500

** O-RING

1шт.

14F

563F8-57091

** RING;BACK UP

2шт.

20

563F8-57101

* NUT;PISTON

1шт.

21

263G8-47171

* SCREW;SET

1шт.

22

563F8-57111

* PIPE

1шт.

23

563F8-57121

* CLAMP;PIPE

1шт.

24

02010-00012

* WASHER;SPRING

1шт.

25

563F8-57131

* BOLT;HEX

1шт.

26

563F8-57141

* PIPE

1шт.

27

563F8-57121

* CLAMP;PIPE

1шт.

28

02010-00012

* WASHER;SPRING

1шт.

29

563F8-57131

* BOLT;HEX

1шт.

31

563F8-57161

* CAP;DUST

2шт.

50

563F8-57201

SEAL KIT

1шт.

Выбрано товаров: 36