Запчасти Hitachi ZW180 038 COVER (1) (000101-004999, 005101-). 03 CHASSIS

Схема запчастей Hitachi ZW180 - 038 COVER (1) (000101-004999, 005101-). 03 CHASSIS
FIT
1:1
100%

Артикул

Название

Примечание

Количество

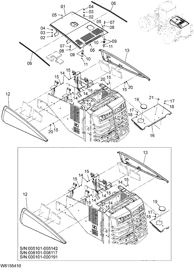
1

263F6-40201

HOOD(FRONT)

1шт.

2

01116-16045

BOLT

4шт.

3

02011-00016

WASHER

4шт.

4

190A3-02051

WASHER

4шт.

5

263G6-44621

BRUSH CLIP

3шт.

6

26606-43301

WEATHER STRIP

2шт.

7

01110-12080

BOLT

2шт.

8

02000-00012

WASHER

2шт.

9

26602-12021

WASHER

4шт.

10

26602-12011

MOUNTING

2шт.

11

01401-00012

NUT

2шт.

12

263F6-42001

COVER SIDE(LH)

T 005101-005142

1шт.

@111

008101-008117

@222

000101-000191

12

263F6-42002

COVER SIDE(LH)

005143-007999

1шт.

@333

008118-

@444

000192-004999

13

263F6-42011

COVER SIDE(RH)

T 005101-005142

1шт.

@555

008101-008117

@666

000101-000191

13

263F6-42012

COVER SIDE(RH)

005143-007999

1шт.

@777

008118-

@888

000192-004999

14

01183-10025

BOLT

005101-005142

8шт.

@999

008101-008117

@101010

000101-000191

14

01183-10025

BOLT

005143-007999

6шт.

@111111

008118-

@121212

000192-004999

15

26091-12081

WASHER PLAIN

005101-005142

8шт.

@131313

008101-008117

@141414

000101-000191

15

26091-12081

WASHER PLAIN

005143-007999

10шт.

@151515

008118-

@161616

000192-004999

16

263F6-42651

HOOD REAR

1шт.

17

01183-10030

BOLT

4шт.

18

26091-12081

WASHER PLAIN

4шт.

19

26196-42271

CAP RUBBER

1шт.

20

01401-00010

NUT

005143-007999

4шт.

@171717

008118-

@181818

000192-004999

21

26754-12501

HOLE PLUG

005343-007999

3шт.

@191919

008251-

@202020

000424-004999

Выбрано товаров: 0