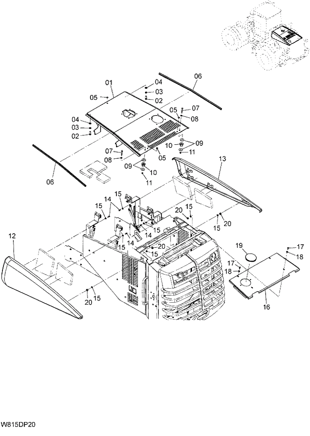
Запчасти Hitachi ZW180 039 COVER (1) (DPR) (000424-004999, 005289-007999, 008251-). 03 CHASSIS

Схема запчастей Hitachi ZW180 - 039 COVER (1) (DPR) (000424-004999, 005289-007999, 008251-). 03 CHASSIS
FIT
1:1
100%

Артикул

Название

Примечание

Количество

1

263F6-40201

HOOD(FRONT)

1шт.

2

01116-16045

BOLT

4шт.

3

02011-00016

WASHER

4шт.

4

190A3-02051

WASHER

4шт.

5

263G6-44621

BRUSH CLIP

3шт.

6

26606-43301

WEATHER STRIP

2шт.

7

01110-12080

BOLT

2шт.

8

02000-00012

WASHER

2шт.

9

26602-12021

WASHER

4шт.

10

26602-12011

MOUNTING

2шт.

11

01401-00012

NUT

2шт.

12

263F6-42002

COVER SIDE(LH)

1шт.

13

263F6-42012

COVER SIDE(RH)

1шт.

14

01183-10025

BOLT

6шт.

15

26091-12081

WASHER PLAIN

10шт.

16

563F6-42001

HOOD REAR

1шт.

17

01183-10030

BOLT

4шт.

18

26091-12081

WASHER PLAIN

4шт.

19

26196-42271

CAP RUBBER

1шт.

20

01401-00010

NUT

4шт.

Выбрано товаров: 0