Запчасти Hitachi ZW180 048 FLOOR BOARD (1) (HLF,HPF) (000101-004999, 008101-). 03 CHASSIS

Схема запчастей Hitachi ZW180 - 048 FLOOR BOARD (1) (HLF,HPF) (000101-004999, 008101-). 03 CHASSIS
FIT
1:1
100%

Артикул

Название

Примечание

Количество

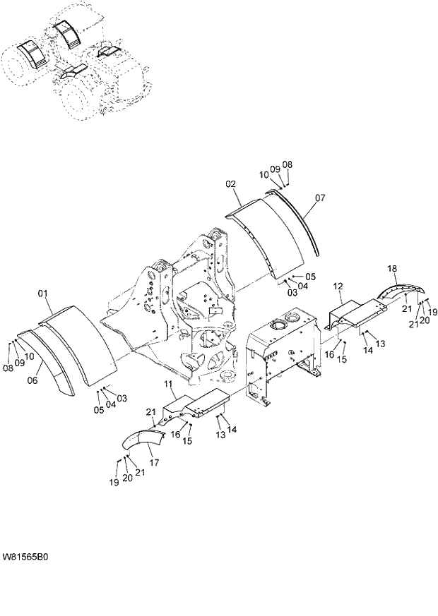
1

263F6-50121

FENDER (LH)

1шт.

2

263F6-50131

FENDER (RH)

1шт.

3

26096-42351

WASHER

8шт.

4

02010-00012

WASHER

8шт.

5

01401-00012

NUT

8шт.

6

263G6-53221

FRONT FENDER COVER(L)

1шт.

7

263G6-53231

FRONT FENDER COVER(R)

1шт.

8

01100-08025

BOLT

10шт.

9

21471-22311

WASHER

10шт.

10

26606-52721

WASHER

10шт.

11

263F6-50141

FENDER(LH)

008101-008127

1шт.

@111

000101-000240

11

263F6-50142

FENDER(LH)

008128-

1шт.

@222

000241-004999

12

263F6-50151

FENDER(RH)

008101-008127

1шт.

@333

000101-000240

12

263F6-50152

FENDER(RH)

008128-

1шт.

@444

000241-004999

13

01183-12030

BOLT

6шт.

14

26063-02111

WASHER

6шт.

15

01183-12025

BOLT

6шт.

16

02000-00012

WASHER

6шт.

17

263F6-52371

FENDER COVER(LH)

I 008101-008250

1шт.

@555

000101-000423

17

263F6-52661

COVER(LH)

008251-

1шт.

@666

000424-004999

18

263F6-52381

FENDER COVER(RH)

I 008101-008250

1шт.

@777

000101-000423

18

263F6-52671

COVER(RH)

008251-

1шт.

@888

000424-004999

19

01100-08060

BOLT

8шт.

20

21471-22311

WASHER

8шт.

21

26606-52721

WASHER

16шт.

Выбрано товаров: 0