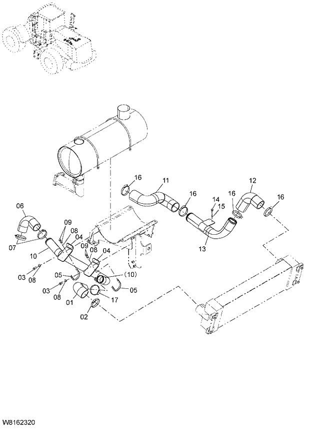
Запчасти Hitachi ZW220 021_INLET,EXHAUST PIPING (000101-004999, 005101-). 01 ENGINE

Схема запчастей Hitachi ZW220 - 021_INLET,EXHAUST PIPING (000101-004999, 005101-). 01 ENGINE
FIT
1:1
100%

Артикул

Название

Примечание

Количество

1

263G2-32541

HOSE

1шт.

2

26607-63291

CLIP;HOSE

1шт.

3

01183-10030

BOLT;SEMS

4шт.

4

263G2-32561

BRACKET

2шт.

5

263G2-32591

U BOLT

2шт.

6

263G2-32011

HOSE

1шт.

7

26607-63291

CLIP;HOSE

2шт.

8

02000-00010

WASHER

8шт.

9

01401-00010

NUT

8шт.

10

263G2-30221

PIPE ASSY

1шт.

11

263G2-32691

HOSE

1шт.

12

263G2-32671

HOSE

1шт.

13

263G2-30081

PIPE ASSY

1шт.

14

01183-10025

BOLT;SEMS

2шт.

15

02000-00010

WASHER

2шт.

16

26607-63291

CLIP;HOSE

4шт.

17

26607-63291

CLIP;HOSE

I 005101-005177

1шт.

@111

000101-000211

17

HL4263764

CLAMP;HOSE

005178-

1шт.

@222

000212-004999

Выбрано товаров: 20