Запчасти Hitachi ZW220 057_FLOOR BOARD(5) (000253-004999, 005256-). 03 CHASSIS

Схема запчастей Hitachi ZW220 - 057_FLOOR BOARD(5) (000253-004999, 005256-). 03 CHASSIS
FIT
1:1
100%

Артикул

Название

Примечание

Количество

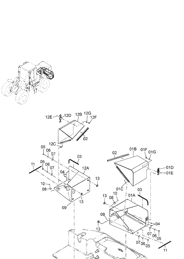
1

263G6-50472

BATTERY BOX ASSY;LH

1шт.

01A

263G6-50492

* BATTERY BOX BASE

1шт.

01B

263G6-50512

* BATTERY COVER ASSY

1шт.

@111

;LH

01C

26606-52511

* COLLAR

2шт.

01D

263G6-54361

* CLIP

1шт.

01E

01300-04012

* BOLT

3шт.

01F

01400-00004

* NUT

3шт.

01G

02000-00004

* WASHER

3шт.

2

263G6-53031

STRIP;WEATHER

2шт.

3

263G6-53021

STRIP;WEATHER

2шт.

4

26754-12491

PLUG;HOLE

4шт.

5

01401-00012

NUT

8шт.

6

02010-00012

WASHER

8шт.

7

26096-42351

WASHER

8шт.

8

26506-52111

RUBBER;CUSHION

2шт.

9

01400-00005

NUT

2шт.

10

01031-05025

SCREW

2шт.

11

263G6-54071

STRIP;WEATHER

2шт.

12

263G6-50482

BATTERY BOX ASSY;RH

1шт.

12A

263G6-50502

* BATTERY BOX BASE

1шт.

12B

263G6-50522

* BATTERY COVER ASSY

1шт.

@222

;RH

12C

26606-52511

* COLLAR

2шт.

12D

263G6-54361

* CLIP

1шт.

12E

01300-04012

* BOLT

3шт.

12F

01400-00004

* NUT

3шт.

12G

02000-00004

* WASHER

3шт.

13

02000-00016

WASHER

8шт.

Выбрано товаров: 29