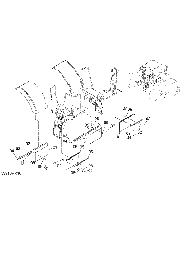
Запчасти Hitachi ZW220 059_FULL REAR FENDER(1-1)(FRF) (000101-004999, 005101-). 03 CHASSIS

Схема запчастей Hitachi ZW220 - 059_FULL REAR FENDER(1-1)(FRF) (000101-004999, 005101-). 03 CHASSIS
FIT
1:1
100%

Артикул

Название

Примечание

Количество

1

263G6-53481

COVER

2шт.

2

263G6-53461

PLATE

2шт.

3

02000-00010

WASHER

12шт.

4

01183-10030

BOLT;SEMS

12шт.

5

263G6-53961

COVER

2шт.

6

263G6-53971

PLATE

2шт.

7

01183-10025

BOLT;SEMS

4шт.

8

01401-00010

NUT

4шт.

9

26606-52721

WASHER

4шт.

Выбрано товаров: 9