Запчасти Hitachi ZW220 070_CAB(GSM SPEC.)(ROC002) (000101-004999, 005101-). 04 CAB

Схема запчастей Hitachi ZW220 - 070_CAB(GSM SPEC.)(ROC002) (000101-004999, 005101-). 04 CAB
FIT
1:1
100%

Артикул

Название

Примечание

Количество

1

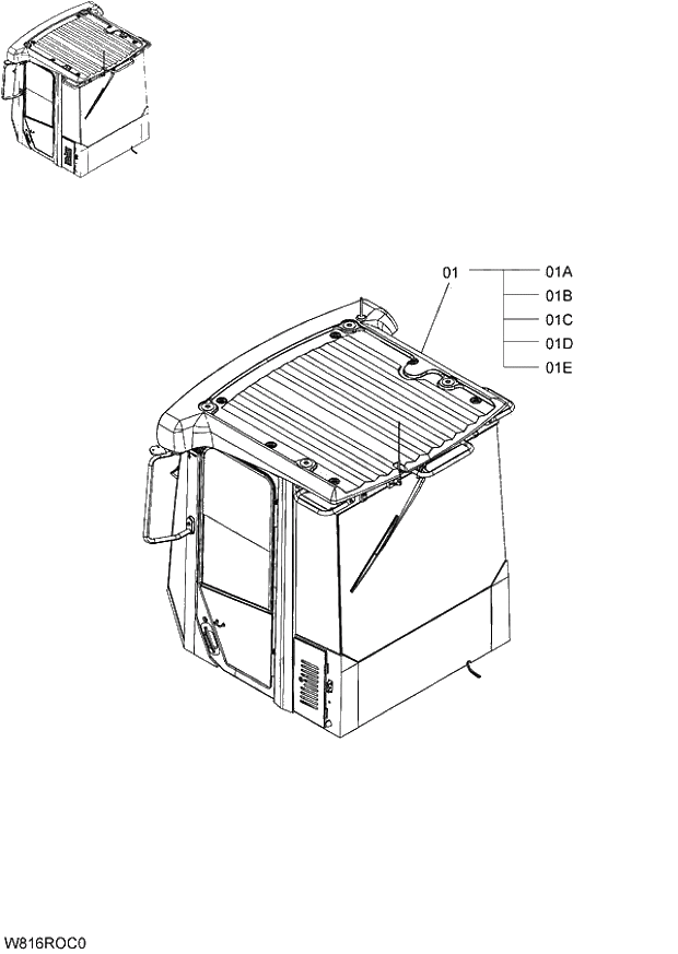
263G6-70121

CAB ASSY

I 005101-006126

1шт.

@111

008101-008158

@222

000101-000361

1

263G6-70122

CAB ASSY

I 006127-006167

1шт.

@333

008159-008229

@444

000362-000489

1

263G6-70123

CAB ASSY

Y 006168-006217

1шт.

@555

008230-008349

@666

000490-000616

1

263G6-70124

CAB ASSY

Y 006218-006242

1шт.

@777

008350-008402

@888

010101-010124

@999

000617-000635

1

263G6-70125

CAB ASSY

006243-007999

1шт.

@101010

008403-009999

@111111

010125-

@121212

000636-004999

01A

+++++++++++

* CAB(1)(WITH GSM)

1шт.

01B

+++++++++++

* CAB(2)

1шт.

01C

+++++++++++

* CAB(3)

1шт.

01D

+++++++++++

* CAB(4)

1шт.

01E

+++++++++++

* CAB(5)(WITH GSM)

1шт.

Выбрано товаров: 22