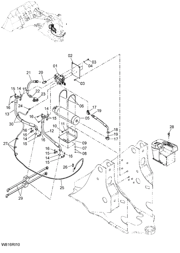
Запчасти Hitachi ZW220 169_RIDE CONTROL(RID) (000101-004999, 005101-). 06 HYDRAULIC SYSTEM

Схема запчастей Hitachi ZW220 - 169_RIDE CONTROL(RID) (000101-004999, 005101-). 06 HYDRAULIC SYSTEM
FIT
1:1
100%

Артикул

Название

Примечание

Количество

1

263G7-62861

VALVE;RIDE CONTROL

1шт.

2

263G7-62851

BRACKET

1шт.

3

01183-12030

BOLT;SEMS

7шт.

4

02000-00012

WASHER

3шт.

5

263G7-62871

ACCUMULATOR

1шт.

6

26905-42422

U BOLT

2шт.

7

02000-00010

WASHER

4шт.

8

01401-00010

NUT

8шт.

9

263G7-60381

BRACKET ASSY

1шт.

10

01183-12030

BOLT;SEMS

4шт.

11

02000-00012

WASHER

4шт.

12

263G7-62741

HOSE ASSY

1шт.

13

263G7-62751

HOSE ASSY

1шт.

14

26607-62631

O RING

4шт.

15

26607-62571

FRANGE;SPRIT

8шт.

16

01116-10030

BOLT

16шт.

17

HLA853366

ELBOW;S

2шт.

17A

03320-00240

* O-RING

1шт.

18

263G7-62781

HOSE ASSY

1шт.

19

HL4187308

O-RING

2шт.

20

HLA852366

ELBOW;S

1шт.

20A

03320-00240

* O-RING

1шт.

21

263G7-62771

HOSE ASSY

1шт.

22

HL4187308

O-RING

1шт.

23

HL4614472

TEE;S

1шт.

23A

03320-00290

* O-RING

1шт.

24

HLA852222

ELBOW;S

1шт.

24A

03320-00110

* O-RING

1шт.

25

263G7-62761

HOSE ASSY

1шт.

26

HLA852422

TEE;S

1шт.

26A

03320-00110

* O-RING

1шт.

27

HL4441695

CLIP;BAND

3шт.

28

263G2-43632

SWITCH

1шт.

29

263G7-60331

TUBE ASSY

005227-

2шт.

@111

000219-004999

30

04913-11200

INSULOCK

2шт.

Выбрано товаров: 36