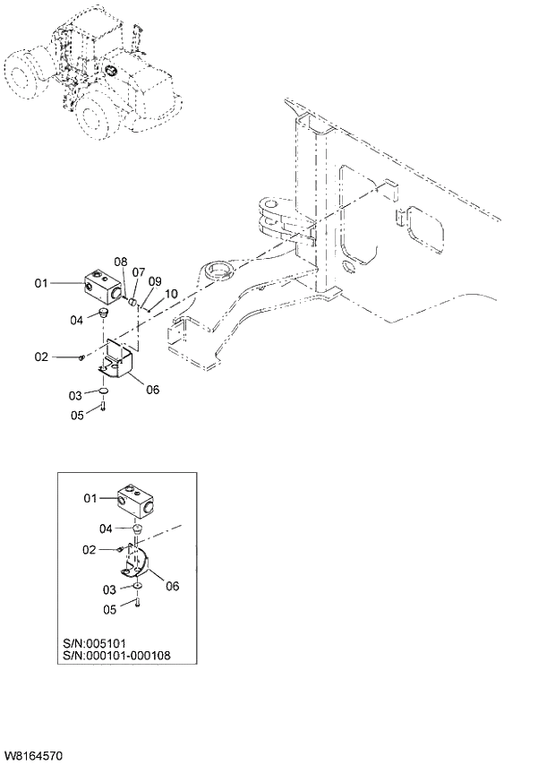
Запчасти Hitachi ZW220 199_STEERING PARTS(CHECK VALVE) (000101-004999, 005101-). 06 HYDRAULIC SYSTEM

Схема запчастей Hitachi ZW220 - 199_STEERING PARTS(CHECK VALVE) (000101-004999, 005101-). 06 HYDRAULIC SYSTEM
FIT
1:1
100%

Артикул

Название

Примечание

Количество

1

263G4-52051

VALVE;STEERING CHECK

005101-005101

1шт.

@111

000101-000108

1

263G4-52052

VALVE;STEERING CHECK

I 005102-005158

1шт.

@222

000109-000210

1

263G4-52053

VALVE;STEERING CHECK

005159-

1шт.

@333

000211-004999

2

01183-12020

BOLT;SEMS

2шт.

3

26312-12021

WASHER

2шт.

4

26606-42251

MOUNT;RUBBER

2шт.

5

01110-12040

BOLT

2шт.

6

263G4-50181

BRACKET ASSY

I 005101-005101

1шт.

@444

000101-000108

6

263G4-50182

BRACKET ASSY

005102-

1шт.

@555

000109-004999

7

26506-52111

CUSHION;RUBBER

005102-

1шт.

@666

000109-004999

8

01033-05035

SCREW;SEMS

005102-

1шт.

@777

000109-004999

9

02000-00005

WASHER

005102-

1шт.

@888

000109-004999

10

01400-00005

NUT

005102-

1шт.

@999

000109-004999

Выбрано товаров: 22