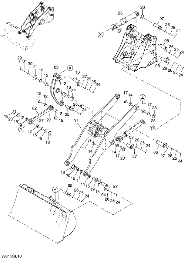
Запчасти Hitachi ZW220 221_LIFT ARM(FOR LOG GRAPPLE)(SLA002) (000101-004999, 005101-). 07 LOADER ATTACHMENT

Схема запчастей Hitachi ZW220 - 221_LIFT ARM(FOR LOG GRAPPLE)(SLA002) (000101-004999, 005101-). 07 LOADER ATTACHMENT
FIT
1:1
100%

Артикул

Название

Примечание

Количество

1

263G8-70011

BOOM

1шт.

2

263G8-70031

PUSHROD

1шт.

3

263G8-70021

BELLCRANK

1шт.

4

263G8-70051

PIN

2шт.

5

263G8-70061

PIN

2шт.

6

563G8-70141

PIN

1шт.

7

263G8-70081

PIN

1шт.

8

263G8-70091

PIN

4шт.

9

263G8-70101

PIN

2шт.

10

263G8-70111

PIN

1шт.

11

HL4642606

BUSHING

4шт.

12

HL4642606

BUSHING

4шт.

13

HL4631296

BUSHING

2шт.

14

HL4381857

BUSHING

8шт.

15

56097-75211

SEAL;DUST

8шт.

16

26758-72241

SEAL;DUST

005101-005263

2шт.

@111

000101-000260

16

263J8-57191

SEAL;DUST

005264-

2шт.

@222

000261-004999

17

26448-72101

SEAL

005101-005263

8шт.

@333

000101-000260

17

263G8-47251

SEAL

005264-

8шт.

@444

000261-004999

18

26688-72061

O RING

6шт.

19

263G8-72131

SPACER 2.3mm

4шт.

20

263G8-72141

SPACER 1.6mm

4шт.

21

26708-72571

SPACER 3.2mm

1шт.

22

26708-72581

SPACER 2.3mm

1шт.

23

26708-72321

SPACER 2.3mm

8шт.

24

01110-16030

BOLT

13шт.

25

02010-00016

WASHER

13шт.

26

26608-72321

WASHER

13шт.

27

04901-00100

FITTING;GREASE

8шт.

28

04901-00160

FITTING;GREASE

2шт.

29

01110-16030

BOLT

1шт.

30

02000-00016

WASHER

1шт.

31

02010-00016

WASHER

1шт.

Выбрано товаров: 37