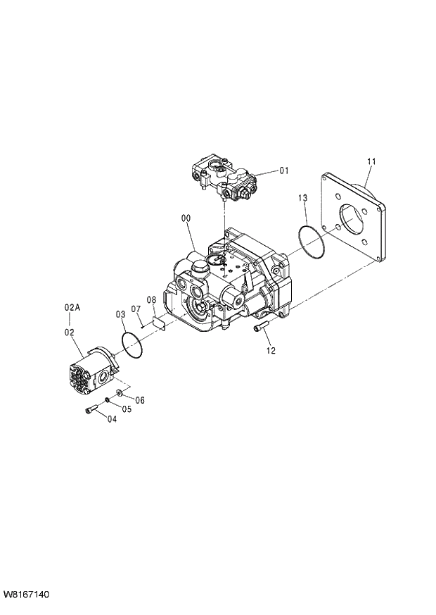
Запчасти Hitachi ZW220 253_PUMP MAIN (000101-004999, 005101-). 01 PUMP

Схема запчастей Hitachi ZW220 - 253_PUMP MAIN (000101-004999, 005101-). 01 PUMP
FIT
1:1
100%

Артикул

Название

Примечание

Количество

263G7-12021

PUMP;MAIN

I 005101-006274

1шт.

@111

008101-008406

@222

010101-010126

@333

000101-000637

263G7-12022

PUMP;MAIN

006275-007999

1шт.

@444

008407-009999

@555

010127-

@666

000638-004999

0

+++++++++++

* PUMP

1шт.

1

263G7-17591

* REGULATOR;PUMP

1шт.

2

263G7-17031

* PUMP;GEAR

1шт.

02A

263H7-17271

** SEAL KIT

006275-007999

1шт.

@777

008407-009999

@888

010127-

@999

000638-004999

3

263G7-17041

* O-RING

1шт.

4

HLM341030

* BOLT;SOCKET

2шт.

5

263G7-17051

* WASHER;SPRING

2шт.

6

263G7-17911

* WASHER

2шт.

7

263G7-17061

* SCREW;DRIVE

2шт.

8

+++++++++++

* NAME-PLATE

1шт.

11

263G7-12011

* SPACER

1шт.

12

HLM341245

* BOLT;SOCKET

4шт.

13

263G7-12051

* O-RING

1шт.

Выбрано товаров: 24