Запчасти Hitachi ZW220 028_VENTILATION SYSTEM. 028_VENTILATION SYSTEM.

Схема запчастей Hitachi ZW220 - 028_VENTILATION SYSTEM. 028_VENTILATION SYSTEM.
FIT
1:1
100%

Артикул

Название

Примечание

Количество

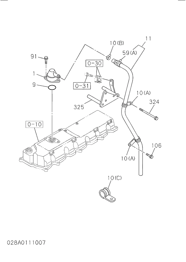
1

1117402690

BREATHER; AIR

200508-

1шт.

9

1096235650

GASKET; AIR BREATHER

200508-

1шт.

010(A)

1097007041

CLIP; AIR BREATHER

200508-

2шт.

010(B)

1097071500

CLIP; AIR BREATHER

200508-

1шт.

11

1117420794

HOSE; RUBBER,AIR

200508-

1шт.

059(A)

8943625180

CLIP; HOSE

201004-

1шт.

91

281810200

BOLT; AIR BREATHER

A 200508-200512

2шт.

91

281510200

BOLT; AIR BREATHER

200601-

2шт.

106

281810200

BOLT; DRAIN PIPE

A 200508-200512

1шт.

106

281510200

BOLT; DRAIN PIPE

200601-

1шт.

324

281860120

BOLT; SEPARATOR

A 200508-200512

2шт.

324

281560120

BOLT; SEPARATOR

200601-

2шт.

325

8980281780

BRACKET; SEPARATOR

200508-

1шт.

Выбрано товаров: 0