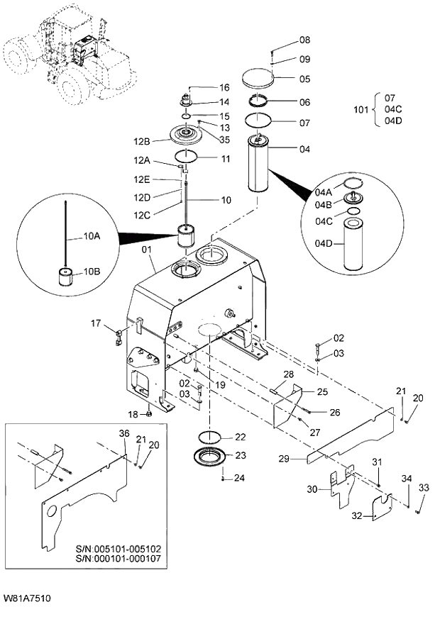
Запчасти Hitachi ZW250 188_OIL TANK (000101-004999, 005101-). 06 HYDRAULIC SYSTEM

Схема запчастей Hitachi ZW250 - 188_OIL TANK (000101-004999, 005101-). 06 HYDRAULIC SYSTEM
FIT
1:1
100%

Артикул

Название

Примечание

Количество

1

263H7-50011

OIL TANK ASSY

I 005101-006144

1шт.

@111

008101-008240

@222

010101-010107

@333

000101-000409

1

263H7-50012

OIL TANK ASSY

006145-007999

1шт.

@444

008241-009999

@555

010108-

@666

000410-004999

2

01119-16080

BOLT

6шт.

3

190A3-02051

WASHER

6шт.

4

HL4656522

ELEMENT;FILTER

1шт.

04A

HL4643446

* RING

1шт.

04B

HL4643444

* VALVE

1шт.

04C

03310-00950

* O RING

1шт.

04D

HL4656602

* ELEMENT;FILTER

1шт.

5

HL4639235

COVER

1шт.

6

HL4472673

SPRING

1шт.

7

03310-01900

O RING

1шт.

8

01110-10035

BOLT

6шт.

9

02000-00010

WASHER

6шт.

10

HL4631063

FILTER;SUCTION

1шт.

10A

263G7-52411

* ROD

1шт.

10B

HL4648651

* STRAINER

1шт.

11

03310-01600

O RING

1шт.

12

HL9184556

COVER

1шт.

12A

HL4408661

* BRACKET

1шт.

12B

HL1025093

* COVER

1шт.

12C

01109-06014

* BOLT

1шт.

12D

02013-00006

* WASHER;SPRING

1шт.

12E

02001-00006

* WASHER;PLANE

1шт.

13

01183-10025

BOLT;SEMS

6шт.

14

HL4434017

BREATHER;AIR

1шт.

14A

HL4437833

* BODY

1шт.

14B

HL4437838

* ELEMENT

1шт.

14C

HL4437837

* COVER

1шт.

14D

HL4371825

* NUT

1шт.

14E

HL4437836

* CAP

1шт.

15

03310-00600

O RING

1шт.

16

26197-52191

BOLT

4шт.

17

26607-52261

GAUGE;LEVEL

I 005101-006141

1шт.

@777

008101-008240

@888

010101-010107

@999

000101-000409

17

263G7-52421

GAUGE;LEVEL

006142-007999

1шт.

@101010

008241-009999

@111111

010108-

@121212

000410-004999

18

HLA885006

PLUG

1шт.

18A

03320-00240

* O-RING

1шт.

19

HLA885004

PLUG

1шт.

19A

03320-00180

* O-RING

1шт.

20

01183-10020

BOLT;SEMS

4шт.

21

02000-00010

WASHER

4шт.

22

03310-01600

O RING

1шт.

23

HL8023981

COVER

1шт.

24

01183-10025

BOLT;SEMS

6шт.

25

263J7-52161

COVER

1шт.

26

01183-10080

BOLT;SEMS

1шт.

27

01183-10020

BOLT;SEMS

2шт.

28

263J7-52181

COLLAR

1шт.

29

263H7-50051

COVER ASSY

005103-

1шт.

@131313

000108-004999

30

263H7-50061

COVER ASSY

005103-

1шт.

@141414

000108-004999

31

01183-10020

BOLT;SEMS

005103-

2шт.

@151515

000108-004999

32

263G7-52371

RUBBER

005103-

1шт.

@161616

000108-004999

33

01183-10025

BOLT;SEMS

005103-

4шт.

@171717

000108-004999

34

02000-00010

WASHER

Y 005103-005165

4шт.

@181818

000108-000208

34

26606-52721

WASHER

005166-

4шт.

@191919

000209-004999

35

02000-00010

WASHER

005103-

6шт.

@202020

000108-004999

36

263G7-52241

RUBBER

005101-005102

1шт.

@212121

000101-000107

101

HL4656608

ELEMENT;FILTER

1шт.

Выбрано товаров: 79