Запчасти Hitachi ZW250 222_GENERAL PURPOSE BUCKET 3.3m3 6CH,HCH,HEH,HSH,HXH (B1340) (000101-004999, 005101-). 07 LOADER ATTACHMENT

Схема запчастей Hitachi ZW250 - 222_GENERAL PURPOSE BUCKET 3.3m3 6CH,HCH,HEH,HSH,HXH (B1340) (000101-004999, 005101-). 07 LOADER ATTACHMENT
FIT
1:1
100%

Артикул

Название

Примечание

Количество

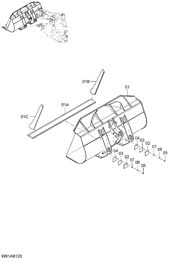
563H8-81081

BUCKET ASSY(B1)

1шт.

1

563H8-81281

* BUCKET ASSY

1шт.

01A

26708-82003

** EDGE;CUTTING

1шт.

01B

563H8-82031

** EDGE;SIDE;RH

1шт.

01C

563H8-82021

** EDGE;SIDE;LH

1шт.

2

26678-82351

* STOPPER

2шт.

3

26678-82371

* SHIM 2.3mm

2шт.

4

26678-82381

* SHIM 3.2mm

2шт.

5

01116-16050

* BOLT

8шт.

6

02011-00016

* WASHER;SPRING

8шт.

7

190A3-02051

* WASHER

8шт.

Выбрано товаров: 11