Запчасти Hitachi ZW250 090_POWER TAKE OFF; FLYWHEEL. 6HK1-XYWT04 DIESEL ENGINE 6HK1 PARTS CATALOG

Схема запчастей Hitachi ZW250 - 090_POWER TAKE OFF; FLYWHEEL. 6HK1-XYWT04 DIESEL ENGINE 6HK1 PARTS CATALOG
FIT
1:1
100%

Артикул

Название

Примечание

Количество

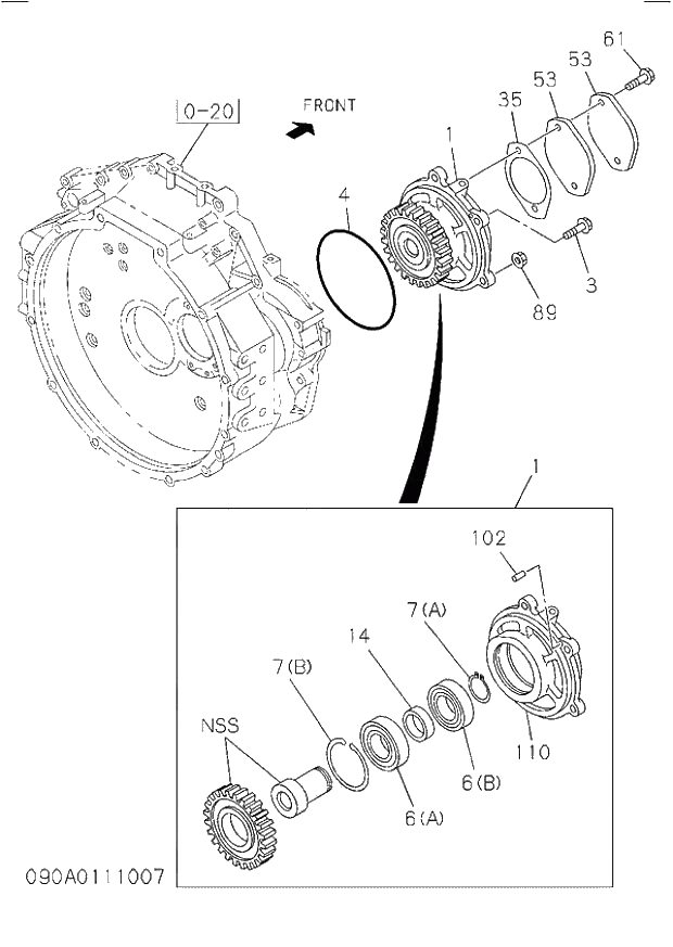
1

1380003912

POWER TAKE OFF ASM; ENG RR

200508-

1шт.

3

281812700

BOLT; BRG CASE

A 200508-200512

3шт.

3

281512700

BOLT; BRG CASE

200601-

3шт.

4

1096235700

GASKET; BRG CASE

200508-

1шт.

006(A)

8944220541

BEARING; FLYWHEEL PTO

200508-

1шт.

006(B)

5098000680

BEARING; FLYWHEEL PTO

200508-

1шт.

007(A)

9091800400

RING; SNAP BALL BRG

200508-

1шт.

007(B)

9091801900

RING; SNAP BALL BRG

200508-

1шт.

14

1382260980

SPACER; FLYWHEEL PTO

200508-

1шт.

35

5113220180

GASKET; COVER

200508-200606

1шт.

35

5113220180

GASKET; COVER

200607-

1шт.

53

5113210360

COVER; PTO

200508-200606

2шт.

53

5113210360

COVER; PTO

200607-

2шт.

61

281510200

BOLT; COVER

200508-200606

2шт.

61

281510200

BOLT; COVER

200607-

2шт.

89

911502120

NUT; BRG CASE

200508-200602

1шт.

89

911802120

NUT; BRG CASE

200603-

1шт.

102

9081505100

PIN; PTO

200508-

1шт.

110

1381810212

HOUSING; PTO

200508-

1шт.

Выбрано товаров: 19