Качественные детали и логистика
Оригинальные и аналоговые запчасти с доставкой по России, Казахстану и Беларуси
©2022 PartSell ООО "Система" ИНН 2463123282 ОГРН 1212400004838
Центральный офис: г. Красноярск, Академика Киренского, д.87, пом.4
Телефон: 8 (800) 777-65-74 Email: zakaz@partsell.ru
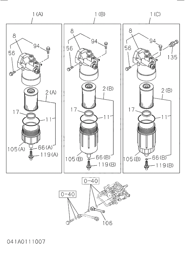
041_FUEL FILTER AND BRACKET.
№
Артикул
Название
Примечание
Количество
001(A)
8980139863
FILTER ASM; FUEL
200508-200710
1шт.
001(C)
8980867230
C 200711-200811
8981354790
200812-200912
8981627470
201001-
002(A)
8980088401
ELEMENT KIT; FUEL FILTER
002(B)
8980742880
200711-200811
8981354620
8981527370
8
8980185292
COVER; FUEL FILTER
8980864340
200711-
11
8980088420
GASKET; CASE TO BODY,FUEL FILTER
200508-
17
8980088490
FLOAT; FUEL FILTER
56
8980088471
PLUG; FUEL FILTER
066(A)
8980088430
GASKET; PLUG,FUEL FILTER
066(B)
8980742970
94
8980088460
VALVE; FUEL FILTER
105(A)
8980088440
CASE; FUEL FILTER
105(B)
8980742901
106
8980149030
PIPE; FUEL
119(A)
8980088480
PLUG; DRAIN,FUEL FILTER
119(B)
8980742920
135
8980864330
SENSOR
Выбрано товаров: 0