Запчасти Hitachi ZW310 026 FLOOR BOARD(5). 03 CHASSIS

Схема запчастей Hitachi ZW310 - 026 FLOOR BOARD(5). 03 CHASSIS
FIT
1:1
100%

Артикул

Название

Примечание

Количество

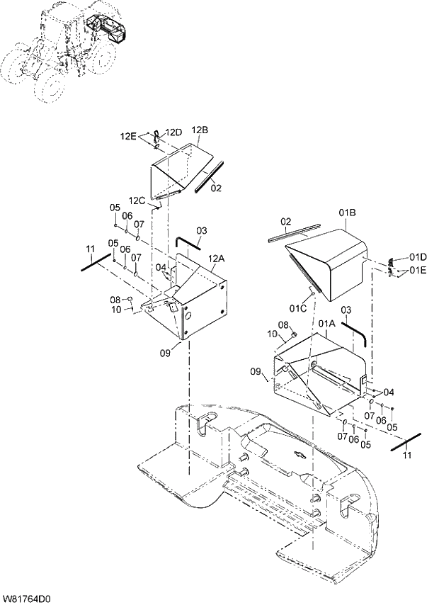
1

263G6-50471

BATTERY BOX ASSY;LH

1шт.

01A

263G6-50491

* BATTERY BOX BASE ASSY

1шт.

01B

263G6-50511

* BATTERY COVER ASSY;LH

1шт.

01C

26606-52511

* COLLAR

2шт.

01D

263G6-54061

* CLIP

1шт.

01E

01300-05016

* BOLT

5шт.

2

263G6-53031

STRIP;WEATHER

2шт.

3

263G6-53021

STRIP;WEATHER

2шт.

4

26754-12491

PLUG;HOLE

4шт.

5

01401-00012

NUT

8шт.

6

02010-00012

WASHER

8шт.

7

26096-42351

WASHER

8шт.

8

26506-52111

RUBBER;CUSHION

2шт.

9

01400-00005

NUT

2шт.

10

01031-05025

SCREW

2шт.

11

263G6-54071

STRIP;WEATHER

2шт.

12

263G6-50481

BATTERY BOX ASSY;RH

1шт.

12A

263G6-50501

* BATTERY BOX BASE ASSY

1шт.

12B

263G6-50521

* BATTERY COVER ASSY;RH

1шт.

12C

26606-52511

* COLLAR

2шт.

12D

263G6-54061

* CLIP

1шт.

12E

01300-05016

* BOLT

5шт.

Выбрано товаров: 22