Запчасти Hitachi ZW310 039 SUSPENSION SEAT(KAB)(SET001). 04 CAB

Схема запчастей Hitachi ZW310 - 039 SUSPENSION SEAT(KAB)(SET001). 04 CAB
FIT
1:1
100%

Артикул

Название

Примечание

Количество

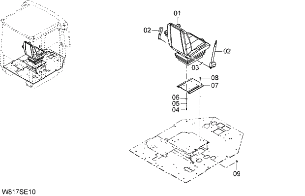
1

263G6-82001

SEAT

1шт.

2

26609-32001

SEAT-BELT

005101-005102

1шт.

@111

000101-000108

2

HL4643968

SEAT-BELT

005103-

1шт.

@222

000109-004999

3

HL4453874

SPACER

005103-

1шт.

@333

000109-004999

4

01106-08020

BOLT

4шт.

5

02011-00008

WASHER;LOCK

4шт.

6

21471-22311

WASHER

4шт.

7

263G6-82331

PLATE;BASE

1шт.

8

01183-10025

BOLT;SEMS

4шт.

9

26754-12541

PLUG;HOLE

005103-

1шт.

@444

000109-004999

Выбрано товаров: 14