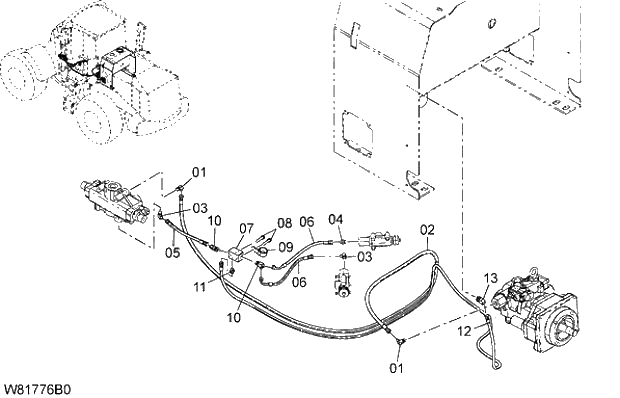
Запчасти Hitachi ZW310 046 STEERING PIPING(5). 06 HYDRAULIC SYSTEM

Схема запчастей Hitachi ZW310 - 046 STEERING PIPING(5). 06 HYDRAULIC SYSTEM
FIT
1:1
100%

Артикул

Название

Примечание

Количество

1

HLA852322

ELBOW;S

2шт.

01A

03320-00110

* O-RING

1шт.

2

263G4-52431

HOSE ASSY

1шт.

3

HLA852322

ELBOW;S

2шт.

03A

03320-00110

* O-RING

1шт.

4

HLA852122

ADAPTER;S

1шт.

04A

03320-00110

* O-RING

1шт.

5

263H4-52101

HOSE ASSY

1шт.

6

263G4-52241

HOSE ASSY

2шт.

7

263G4-52131

BLOCK

1шт.

8

01183-10050

BOLT;SEMS

2шт.

9

263G2-43341

CLAMP

1шт.

10

HLA852422

TEE;S

2шт.

10A

03320-00110

* O-RING

1шт.

11

HLA852122

ADAPTER;S

1шт.

11A

03320-00110

* O-RING

1шт.

12

263G4-52261

HOSE ASSY

1шт.

13

HLA852332

ELBOW;S

1шт.

13A

03320-00140

* O-RING

1шт.

Выбрано товаров: 19