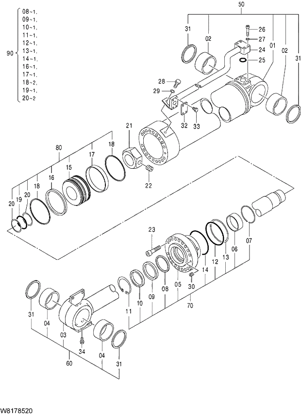
Запчасти Hitachi ZW310 004 CYLINDER BUCKET. 04 CYLINDER

Схема запчастей Hitachi ZW310 - 004 CYLINDER BUCKET. 04 CYLINDER
FIT
1:1
100%

Артикул

Название

Примечание

Количество

263J8-52011

CYLINDER;BUCKET

I 005101-005175

1шт.

@111

000101-000197

263J8-52012

CYLINDER;BUCKET

005176-

1шт.

@222

000198-004999

1

263J8-57011

* TUBE ASSY

1шт.

2

HL4631298

* BUSHING

2шт.

3

263J8-57021

* ROD ASSY

005101-005175

1шт.

@333

000101-000197

3

263J8-57022

* ROD ASSY

005176-

1шт.

@444

000198-004999

4

HL4631298

* BUSHING

2шт.

5

263J8-57031

* COVER;ROD

1шт.

6

263J8-57041

* DD-BUSH

1шт.

7

263H8-57091

* RING;RETAINING

1шт.

8

263J8-57051

* SEAL;BUFFER

1шт.

9

263J8-57061

* U PACKING

1шт.

10

263J8-57071

* WIPER;DUST

1шт.

11

263J8-57081

* RING;RETAINING

1шт.

12

03350-01750

* O-RING

1шт.

13

263J8-57091

* RING;BACK UP

1шт.

14

263J8-57101

* O-RING

1шт.

15

263J8-57111

* PISTON

1шт.

16

263J8-57121

* SEAL;SLIPPER

1шт.

17

263J8-57131

* RING;WEAR

1шт.

18

263J8-57141

* RING;DUST

005101-005175

2шт.

@555

000101-000197

18

263J8-57142

* RING;DUST

I 005176-006218

2шт.

@666

008101-008208

@777

000198-000476

18

263J8-57143

* RING;DUST

006219-007999

2шт.

@888

008209-

@999

000477-004999

19

03350-00900

* O-RING

1шт.

20

263J8-57151

* RING;BACK UP

2шт.

21

263J8-57161

* NUT;PISTON

005101-005175

1шт.

@101010

000101-000197

21

263J8-57162

* NUT;PISTON

005176-

1шт.

@111111

000198-004999

22

263G8-47171

* SCREW;SET

005101-006218

1шт.

@121212

008101-008208

@131313

000101-000476

22

263G8-47271

* SCREW;SET

006219-007999

1шт.

@141414

008209-

@151515

000477-004999

23

01171-18080

* BOLT;HEX SOCKET

18шт.

24

263J8-57171

* PIPE ASSY

1шт.

25

03320-00340

* O-RING

1шт.

26

01171-12065

* BOLT;HEX SOCKET

4шт.

27

02010-00012

* WASHER;SPRING

005101-005175

4шт.

@161616

000101-000197

27

02011-00012

* WASHER;SPRING

005176-

4шт.

@171717

000198-004999

28

01103-12025

* BOLT;HEX

005101-005175

1шт.

@181818

000101-000197

28

01113-12025

* BOLT;HEX

005176-

1шт.

@191919

000198-004999

29

02010-00012

* WASHER;SPRING

005101-005175

1шт.

@202020

000101-000197

29

02011-00012

* WASHER;SPRING

005176-

1шт.

@212121

000198-004999

30

263J8-57181

* SCREW;SET

1шт.

31

263J8-57191

* WIPER;PIN

4шт.

32

+++++++++++

* COVER;DUST

2шт.

33

+++++++++++

* BOLT:HEX

8шт.

34

01103-12015

* BOLT:HEX

005101-005175

4шт.

@222222

000101-000197

34

01113-12015

* BOLT:HEX

005176-

4шт.

@232323

000198-004999

50

263J8-57201

* CYL TUBE ASSY

006219-007999

1шт.

@242424

008209-

@252525

000477-004999

60

263J8-57211

* CYL ROD ASSY

006219-007999

1шт.

@262626

008209-

@272727

000477-004999

70

263J8-57221

* ROD COVER ASSY

006219-007999

1шт.

@282828

008209-

@292929

000477-004999

80

263J8-57231

* PISTON ASSY

006219-007999

1шт.

@303030

008209-

@313131

000477-004999

90

263J8-57241

SEAL KIT

006219-007999

1шт.

@323232

008209-

@333333

000477-004999

Выбрано товаров: 83