Запчасти Hitachi ZW310 006 FRONT AXLE(LSD). 02 POWER TRAIN

Схема запчастей Hitachi ZW310 - 006 FRONT AXLE(LSD). 02 POWER TRAIN
FIT
1:1
100%

Артикул

Название

Примечание

Количество

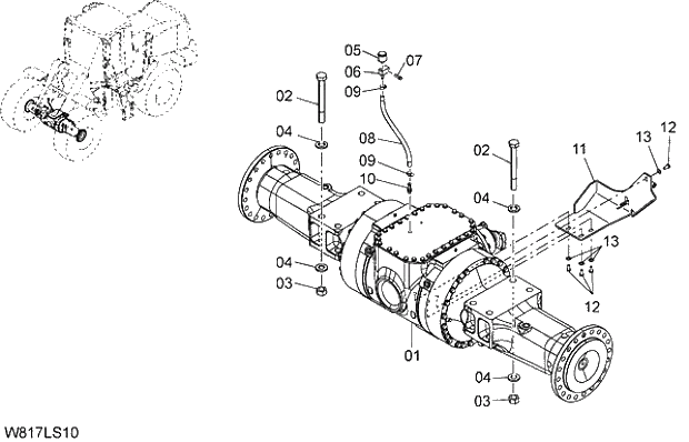
1

163J3-00021

AXLE ASSY;FRONT

005101-006270

1шт.

@111

008101-008442

@222

000101-000660

1

163J3-00022

AXLE ASSY;FRONT

006271-007999

1шт.

@333

008443-

@444

000661-004999

2

26706-13601

BOLT

8шт.

3

26706-13611

NUT

8шт.

4

26063-02121

WASHER

16шт.

5

16323-02242

BREATHER

1шт.

6

26432-12041

ADAPTER

1шт.

7

01183-10040

BOLT;SEMS

1шт.

8

04710-04045

HOSE

1шт.

9

24067-62251

CLIP;HOSE

2шт.

10

04100-00204

ADAPTER;HOSE

1шт.

11

263J3-02121

COVER

006271-007999

1шт.

@555

008443-

@666

000661-004999

12

01116-10020

BOLT

006271-007999

4шт.

@777

008443-

@888

000661-004999

13

02003-00010

WASHER

006271-007999

4шт.

@999

008443-

@101010

000661-004999

Выбрано товаров: 24