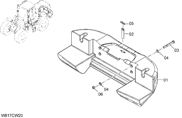
Запчасти Hitachi ZW310 005 COUNTER WEIGHT 2.5t(CW250). 03 CHASSIS

Схема запчастей Hitachi ZW310 - 005 COUNTER WEIGHT 2.5t(CW250). 03 CHASSIS
FIT
1:1
100%

Артикул

Название

Примечание

Количество

1

263H6-30012

BALANCE WEIGHT ASSY

I 005101-006219

1шт.

@111

008101-008215

@222

000101-000485

1

263H6-30013

BALANCE WEIGHT ASSY

006220-007999

1шт.

@333

008216-

@444

000486-004999

2

263G6-30021

DRAWBER PIN ASSY

1шт.

3

01116-30270

BOLT

4шт.

4

26063-02121

WASHER

8шт.

5

26389-12431

PIN;SET

1шт.

6

01401-10030

NUT

4шт.

Выбрано товаров: 11