Запчасти Hitachi ZW310A 001 PUMP MAIN. 01 PUMP

Схема запчастей Hitachi ZW310A - 001 PUMP MAIN. 01 PUMP
FIT
1:1
100%

Артикул

Название

Примечание

Количество

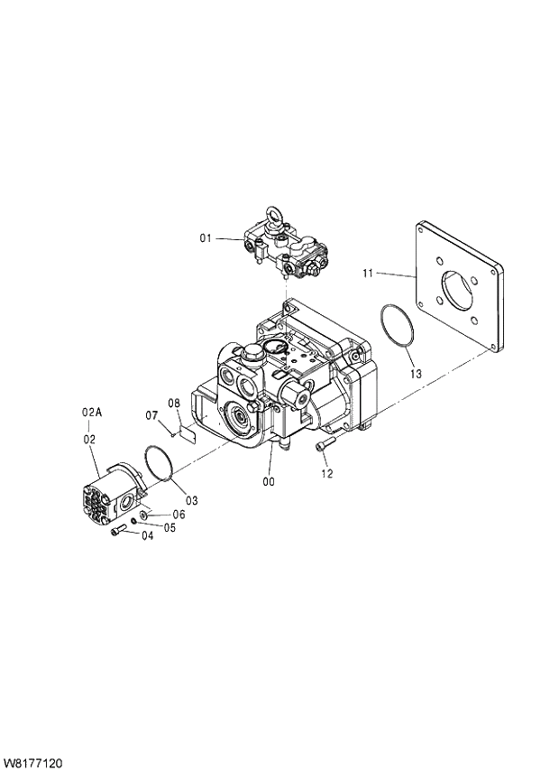
263J7-12021

PUMP;MAIN

I 005101-006273

1шт.

@111

008101-008442

@222

000101-000660

263J7-12022

PUMP;MAIN

006274-007999

1шт.

@333

008443-

@444

000661-004999

0

+++++++++++

* PUMP

1шт.

1

263J7-17022

* REGULATOR;PUMP

1шт.

2

263G7-17031

* PUMP;GEAR

1шт.

02A

263H7-17271

** SEAL KIT

006274-007999

1шт.

@555

008443-

@666

000661-004999

3

263G7-17041

* O-RING

1шт.

4

HLM341030

* BOLT;SOCKET

2шт.

5

263G7-17051

* WASHER;SPRING

2шт.

6

263G7-17911

* WASHER

2шт.

7

263G7-17061

* SCREW;DRIVE

2шт.

8

+++++++++++

* NAME-PLATE

1шт.

11

263H7-12011

* SPACER

1шт.

12

HLM341245

* BOLT;SOCKET

4шт.

13

263G7-12051

* O-RING

1шт.

Выбрано товаров: 21