Запчасти Hyundai H70 COOLING SYSTEM

Схема запчастей Hyundai H70 - COOLING SYSTEM
FIT
1:1
100%

Артикул

Название

Примечание

Количество

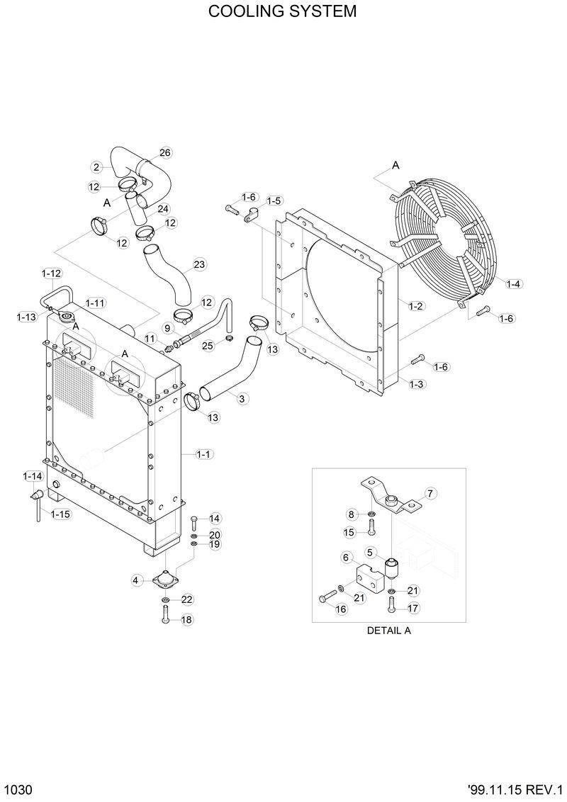
1

15D1-30192

15D1-30192-Radiator Total Assy

1-1

15D1-30201

15D1-30201-. Radiator Assy

1-11

12101811

12101811-.. Cap

1-12

96301000

96301000-.. Hose-Overflow

1-13

45601740

45601740-.. Clamp-Hose

1-14

22900610

22900610-.. Cock Assy-Drain

1-15

96300200

96300200-.. Hose-Drain

1-2

15D2-30040

15D2-30040-. Shroud Assy-Upper

1-3

15D1-30260

15D1-30260-. Shroud Assy-Lower

1-4

15D1-30221

15D1-30221-. Guard-Fan

1-5

31L3-0354

31L3-0354-. Clamp

1-6

S015-080202

S015-080202-. Bolt-Hex

11

P010-110013

P010-110013-Connector

12

S520-055000

S520-055000-Clamp-Hose

13

S520-070000

S520-070000-Clamp-Hose

14

S015-060162

S015-060162-Bolt-Hex

15

S017-100252

S017-100252-Bolt-Hex

16

S017-100502

S017-100502-Bolt-Hex

17

S017-100602

S017-100602-Bolt-Hex

18

S017-120552

S017-120552-Bolt-Hex

19

S403-062002

S403-062002-Washer-Plain

2

15D1-30240

15D1-30240-Hose-Rubber

20

S411-060002

S411-060002-Washer-Spring

21

S441-100002

S441-100002-Washer-Hardened

22

S441-120002

S441-120002-Washer-Hardened

23

15D1-30250

15D1-30250-Hose-Rubber

24

15D1-30230

15D1-30230-Pipe

25

S520-015000

S520-015000-Clamp-Hose

26

15D1-30280

15D1-30280-Clamp-Hose

3

15D1-30160

15D1-30160-Hose-Rubber

4

15D1-30060

15D1-30060-Rubber-Cushion

5

15D1-30120

15D1-30120-Rubber-Cushion

6

15D1-30130

15D1-30130-Block

7

15D1-30171

15D1-30171-Plate Wa

8

15D1-30180

15D1-30180-Washer-Hardened

9

15D1-30270

15D1-30270-Hose Assy

Выбрано товаров: 0