Запчасти Hyundai H80 COOLING SYSTEM

Схема запчастей Hyundai H80 - COOLING SYSTEM
FIT
1:1
100%

Артикул

Название

Примечание

Количество

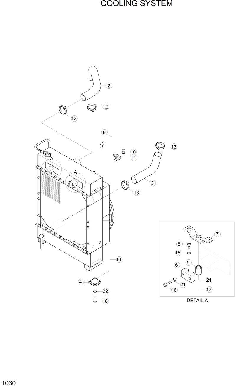
1

@

@-Radiatortotal Assy

10

S520-015000

S520-015000-Clamp

11

P020-110012

P020-110012-Elbow-90

12

S520-055000

S520-055000-Clamp-Hose

13

S520-070000

S520-070000-Clamp

14

S035-061522

S035-061522-Bolt-W/Washer

15

S017-100252

S017-100252-Bolt-Hex

16

S017-100502

S017-100502-Bolt-Hex

17

S037-106052

S037-106052-Bolt-W/Washer

18

S017-120552

S017-120552-Bolt-Hex

2

15D2-30070

15D2-30070-Hose-Rubber

21

S441-100002

S441-100002-Washer-Hardened

22

S441-120002

S441-120002-Washer-Hardened

3

15D2-30021

15D2-30021-Hose-Rubber

4

15D1-30060

15D1-30060-Rubber-Cushion

5

15D1-30120

15D1-30120-Rubber-Cushion

6

15D1-30130

15D1-30130-Block

7

15D2-30081

15D2-30081-Plate Wa

8

15D1-30180

15D1-30180-Washer-Hardened

9

15D2-30090

15D2-30090-Hose Assy

Выбрано товаров: 20