Качественные детали и логистика
Оригинальные и аналоговые запчасти с доставкой по России, Казахстану и Беларуси
©2022 PartSell ООО "Система" ИНН 2463123282 ОГРН 1212400004838
Центральный офис: г. Красноярск, Академика Киренского, д.87, пом.4
Телефон: 8 (800) 777-65-74 Email: zakaz@partsell.ru
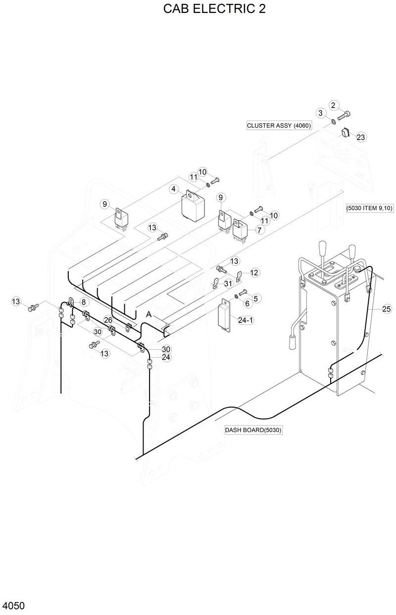
CAB ELECTRIC 2
№
Артикул
Название
Примечание
Количество
10
S161-060102
S161-060102-Screw-C/R Rd
11
S403-062002
S403-062002-Washer-Plain
12
25D1-10670
25D1-10670-Clip Assy(4)
13
S037-101552
S037-101552-Bolt-W/Washer
2
S015-080166
S015-080166-Bolt-Hex
23
21E6-30440
21E6-30440-Switch-Beacon
24
25D2-10011
25D2-10011-Harness-Main
24-1
25D1-00130
25D1-00130-. Fuse Box
25
25D1-10900
25D1-10900-Harness-Ext,Horn Sw
26
21E9-00170
21E9-00170-Clip-Harness
3
S403-082006
S403-082006-Washer-Plain
30
25D1-10650
25D1-10650-Clip Assy(2)
31
25D1-10660
25D1-10660-Clip Assy(3)
4
21E4-2025
21E4-2025-Buzzer-Warning
5
S161-050202
S161-050202-Screw
6
S401-052002
S401-052002-Washer-Plain
7
E125-2545
E125-2545-Relay-5p
8
25D1-10640
25D1-10640-Clip Assy(1)
9
21E4-0011
21E4-0011-Relay-4p
Выбрано товаров: 0