Запчасти Hyundai R27Z-9 PAGE 6300 COWLING СТРУКТУРА

Схема запчастей Hyundai R27Z-9 - PAGE 6300 COWLING СТРУКТУРА
FIT
1:1
100%

Артикул

Название

Примечание

Количество

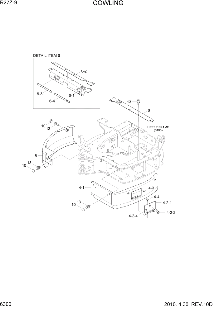
4

71MK-55011

COVER ASSY-U/FRAME, LH

1шт.

4-1

71MK-55101

COVER ASSY-LH

1шт.

4-2

71MH-55301

DOOR ASSY-SERVICE

1шт.

4-2-1

71MH-55401

COVER WA-SERVICE

1шт.

4-2-2

71MH-55600

KEY-LOCK

1шт.

4-2-4

71MH-55700

STOPPER-RUBBER

2шт.

4-3

71MH-55700

STOPPER-RUBBER

2шт.

4-4

S035-061556

BOLT-W/WASHER

2шт.

5

71MK-55201

UPPER COVER ASSY-LH

1шт.

6

71MK-56000

SCREEN-LOWER

1шт.

6-1

S791-030025

GROMMET

3шт.

6-2

71MK-56010

SPONGE

1шт.

6-3

71MK-56020

SPONGE

1шт.

6-4

71MK-56030

SPONGE

1шт.

10

FHC0904100

RUBBER-STAY

7шт.

13

S035-082056

BOLT-W/WASHER

11шт.

Выбрано товаров: 0