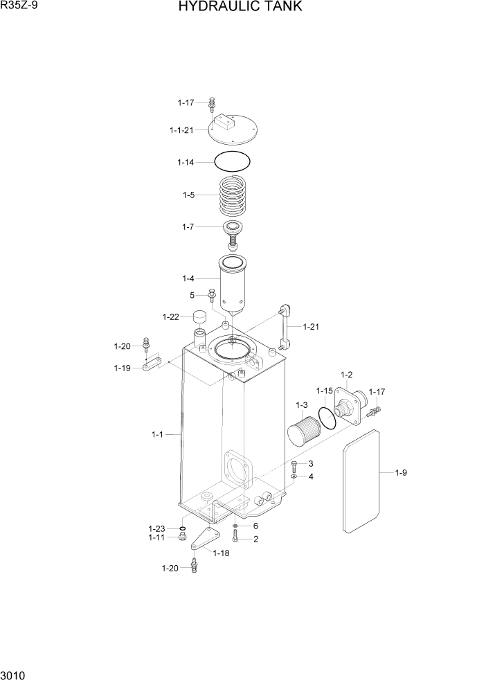
Запчасти Hyundai R35Z9 PAGE 3010 HYDRAULIC TANK ГИДРАВЛИЧЕСКАЯ СИСТЕМА

Схема запчастей Hyundai R35Z9 - PAGE 3010 HYDRAULIC TANK ГИДРАВЛИЧЕСКАЯ СИСТЕМА
FIT
1:1
100%

Артикул

Название

Примечание

Количество

1

@

HYD TANK ASSY

NOT

1шт.

1-1

31MH-01013YL

HYD TANK WA

1шт.

1-1-21

31MH-01171

COVER-RETURN

1шт.

1-2

31MH-01201YL

PIPE-SUCTION

1шт.

1-3

31MH-01210

STRAINER-SUCTION

1шт.

1-4

31MH-01310

ELEMENT-RETURN FILTER

1шт.

1-5

31E9-1020

SPRING-RETURN

1шт.

1-7

31M5-00240

VALVE-BYPASS

1шт.

1-9

31MH-01510

INSULATION

1шт.

1-11

P220-110104

PLUG-HEX

1шт.

1-14

S632-135001

O-RING

1шт.

1-15

S632-110001

O-RING

1шт.

1-17

S037-102526

BOLT-W/WASHER

8шт.

1-18

31MH-01410YL

PLATE-BASE

1шт.

1-19

31MH-01420YL

PLATE-TOP

1шт.

1-2

S037-123026

BOLT-W/WASHER

7шт.

1-21

E131-0473

GAUGE-LEVEL

1шт.

1-22

31MH-01230

CAP ASSY

1шт.

1-23

S631-180004

O-RING

1шт.

2

S017-120406

BOLT-HEX

2шт.

3

S037-123056

BOLT-W/WASHER

1шт.

4

41M5-51920

SHIM(1.0T)

3шт.

5

S017-120156

BOLT-HEX

2шт.

6

S441-120006

WASHER-HARDENED

3шт.

Выбрано товаров: 0