Запчасти Hyundai R55-9 PAGE 6020 CABIN ASSY(1/5) СТРУКТУРА

Схема запчастей Hyundai R55-9 - PAGE 6020 CABIN ASSY(1/5) СТРУКТУРА
FIT
1:1
100%

Артикул

Название

Примечание

Количество

*

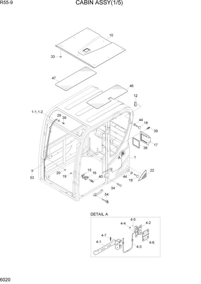
73M9-10000

CABIN ASSY

1шт.

1

73M9-00010

CABIN WA

1шт.

1-1

71M9-00601

RAIL-LH

1шт.

1-2

71M9-00591

RAIL-RH

1шт.

4

71M9-03720

CATCH-BACK

1шт.

4-1

71Q6-02640

LEVER

1шт.

4-2

71M9-03730

CATCH

1шт.

4-3

71M9-03860

WIRE

1шт.

4-4

71M9-03870

WASHER-PLATE

1шт.

4-5

71M9-03880

R-PIN

1шт.

4-6

71M9-03890

GASKET

1шт.

4-7

71M9-03900

SPRING

1шт.

10

71M9-00291

HEADLINING

1шт.

12

71N6-02920

HOOK-COAT

1шт.

15

71M9-03910

STRIKER

1шт.

16

71M9-03920

GUARD-STRIKER

1шт.

17

71M9-03521

COVER-AIR CON

1шт.

18

71EH-13150

RUBBER-BUMPER

2шт.

19

71M8-01510

STOPPER-S/DOOR,LH

1шт.

20

71M8-01520

STOPPER-S/DOOR,RH

1шт.

22

71M9-03550

NOZZLE

1шт.

29

71M9-03750

STOPPER

2шт.

33

71M9-03980

FASTENER

8шт.

34

71EH-10400

SCREW

4шт.

38

71M9-03510

PAD

1шт.

39

S132-061626

SCREW-W/WASHER

14шт.

40

S035-081626

BOLT-W/WASHER

2шт.

44

S203-101006

NUT-HEX

2шт.

46

71M9-03840

SPONGE

1шт.

47

71M9-03850

SPONGE

1шт.

53

41QA-40150

CAP-HEX

10шт.

54

71Q6-02050

ROTOR

1шт.

Выбрано товаров: 32