Запчасти Hyundai R55-9 PAGE 6100 CABIN INTERIOR 1 СТРУКТУРА

Схема запчастей Hyundai R55-9 - PAGE 6100 CABIN INTERIOR 1 СТРУКТУРА
FIT
1:1
100%

Артикул

Название

Примечание

Количество

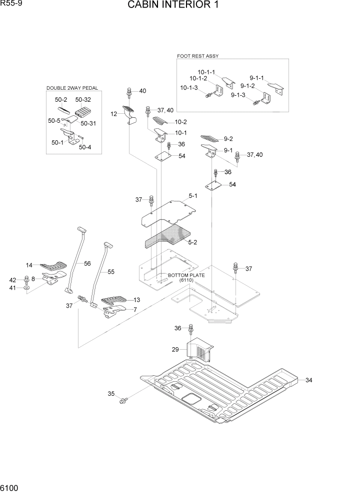
5

71M9-10502

COVER-T/JOINT

1шт.

5-1

71M9-10492

PLATE

1шт.

5-2

71M9-10511

SPONGE

1шт.

7

71M9-22872

PEDAL WA-LH

1шт.

8

71M9-22902

PEDAL WA-RH

1шт.

9

71M9-25530

FOOT REST ASSY-LH

1шт.

9-1

71M9-25481

FOOT REST ASSY-LH

1шт.

9-1-1

71M9-25501

PLATE WA

1шт.

9-1-2

71M9-22722

BRACKET

1шт.

9-1-3

S035-082526

BOLT-W/WASHER

2шт.

9-2

71M9-23130

RUBBER-FOOT REST,LH

1шт.

10

71M9-25510

FOOT REST ASSY-RH

1шт.

10-1

71M9-25511

FOOT REST ASSY-RH

1шт.

10-1-1

71M9-25521

PLATE WA

1шт.

10-1-2

71M9-22722

BRACKET

1шт.

10-1-3

S035-082526

BOLT-W/WASHER

2шт.

10-2

71M9-23140

RUBBER-FOOT REST,RH

1шт.

12

71M9-10631

FOOT REST ASSY-RH

DOUBLE 2WAY

1шт.

13

71M9-23150

RUBBER-PEDAL,LH

1шт.

14

71M9-23160

RUBBER-PEDAL,RH

1шт.

29

71M9-23341

COVER ASSY

1шт.

34

71M9-25100

MAT-FLOOR

BREAKER

1шт.

34

71M9-25110

MAT-FLOOR

DOUBLE 2WAY

1шт.

35

S002-05015B

SCREW-TRUSHEAD

2шт.

36

S035-081526

BOLT-W/WASHER

3шт.

37

S037-102526

BOLT-W/WASHER

21шт.

40

S035-082026

BOLT-W/WASHER

DOUBLE 2WAY

8шт.

41

S403-10200B

WASHER-PLAIN

4шт.

42

S109-100156

BOLT-SOCKET

4шт.

50

71M9-23621

PEDAL ASSY(RH)

DOUBLE 2WAY

1шт.

50-1

71M9-23631

PEDAL WA-RH

DOUBLE 2WAY

1шт.

50-2

71M9-23670

RUBBER-PEDAL, RH

DOUBLE 2WAY

1шт.

50-3

71M9-23681

PEDAL ASSY-RH,LOW

DOUBLE 2WAY

1шт.

50-31

71M9-23691

PLATE WA-RH,LOW

DOUBLE 2WAY

1шт.

50-32

71M9-23710

RUBBER-RH,PEDAL

DOUBLE 2WAY

1шт.

50-4

73M8-10450

SHAFT

DOUBLE 2WAY

1шт.

50-5

P560-060002

RETAINING RING-E TYPE

DOUBLE 2WAY

1шт.

54

72M9-10431

COVER-PLATE

1шт.

55

71M9-25550

TRAVEL LEVER ASSY-LH

1шт.

56

71M9-25560

TRAVEL LEVER ASSY-RH

1шт.

Выбрано товаров: 40