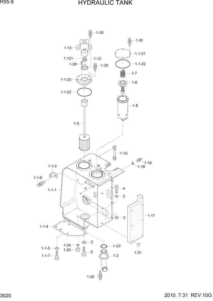
Запчасти Hyundai R55-9 PAGE 3020 HYDRAULIC TANK ГИДРАВЛИЧЕСКАЯ СИСТЕМА

Схема запчастей Hyundai R55-9 - PAGE 3020 HYDRAULIC TANK ГИДРАВЛИЧЕСКАЯ СИСТЕМА
FIT
1:1
100%

Артикул

Название

Примечание

Количество

1

@

HYD TANK ASSY

NOT

1шт.

1-1

32M9-01040

HYD&FUEL TANK SUB ASSY

FAN CLUTCH

1шт.

1-1

32M9-01060

HYD&FUEL TANK SUB ASSY

BLOWER #1117

1шт.

1-1-1

31M9-01014

HYD TANK WA

FAN CLUTCH

1шт.

1-1-1

31M9-04010

HYD TANK WA

BLOWER #1117

1шт.

1-1-20

31M8-01231

COVER-SUCTION

1шт.

1-1-21

31M8-01241

COVER-RETURN

1шт.

1-1-22

S632-135001

O-RING

2шт.

1-1-3

31M9-01320

PLATE

1шт.

1-1-4

31M8-01310GY

PLATE-BASE

1шт.

1-1-5

S411-160006

WASHER-SPRING

4шт.

1-1-6

S037-123026

BOLT-W/WASHER

2шт.

1-1-7

S017-16040D

BOLT-HEX

4шт.

1-2

31M9-01200

PIPE-SUCTION

1шт.

1-3

31M8-01210

STRAINER-SUCTION

1шт.

1-5

31MH-01310

ELEMENT-RETURN FILTER

1шт.

1-6

31M5-00240

VALVE-BYPASS

1шт.

1-7

31M9-01300

SPRING-RETURN

1шт.

1-1

E131-0473

GAUGE-LEVEL

1шт.

1-12

31EE-02100

AIR BREATHER

1шт.

1-121

31EE-02110

ELEMENT

1шт.

1-13

31M8-01270GY

COVER

1шт.

1-17

31M8-01250

SPONGE

1шт.

1-18

21EA-50260

PACKING-TEMP SW

1шт.

1-19

21EN-40100

SENDER-TEMP

1шт.

1-2

P220-110104

PLUG-HEX

1шт.

1-23

S632-090001

O-RING

1шт.

1-24

S631-018004

O-RING

1шт.

1-28

S109-060156

BOLT-SOCKET

4шт.

1-3

S037-102526

BOLT-W/WASHER

16шт.

1-31

71EM-51580

CAP-STUD BOLT

7шт.

2

S441-160006

WASHER-HARDENED

4шт.

3

41M5-51920

SHIM(1.0T)

6шт.

4

S017-16040D

BOLT-HEX

2шт.

5

S017-16050D

BOLT-HEX

2шт.

Выбрано товаров: 35