Запчасти Hyundai R140LC9 PAGE 6080 CAB INTERIOR 1 СТРУКТУРА

Схема запчастей Hyundai R140LC9 - PAGE 6080 CAB INTERIOR 1 СТРУКТУРА
FIT
1:1
100%

Артикул

Название

Примечание

Количество

N6

71Q6-26000

CABIN SUB ASSY

NOT #0042

1шт.

N6

71Q6-26000GG

CABIN SUB ASSY

NOT #0043

1шт.

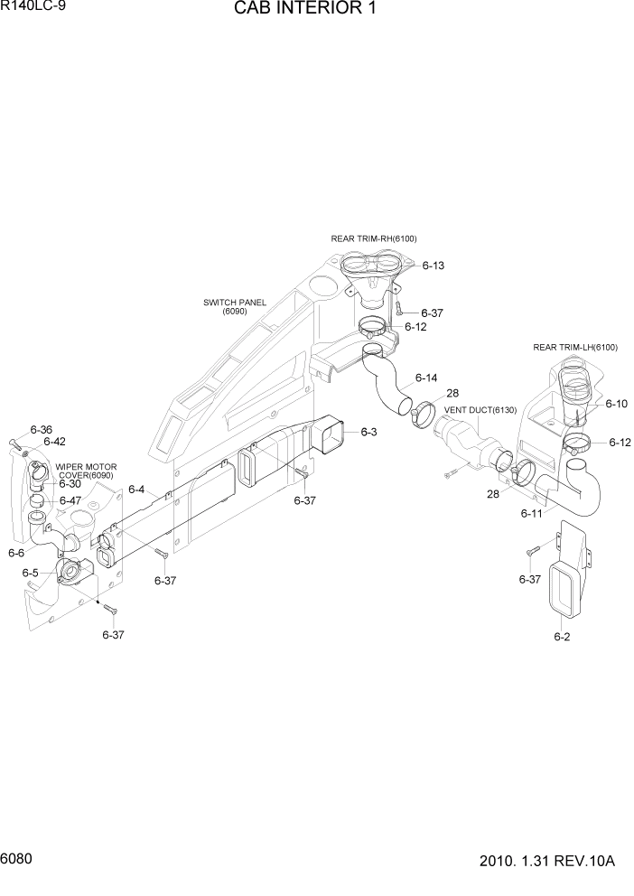
6-2

71Q6-22430

DUCT-INLET ASSY

1шт.

6-3

71Q6-22301

DUCT-DEFROSTER(1)

1шт.

6-4

71Q6-22310

DUCT-DEFROSTER(2)

1шт.

6-5

71Q6-22330

DUCT-FOOT

1шт.

6-6

71Q6-22320

DUCT-DEFROSTER(3)

1шт.

6-1

71Q6-22910

DUCT-VENT,LH

1шт.

6-11

71Q6-22380

HOSE-VENT,LH

1шт.

6-12

S520-085000

CLAMP-HOSE

2шт.

6-13

71Q6-22900

DUCT-VENT,RH

1шт.

6-14

71Q6-22420

HOSE-VENT,RH

1шт.

6-3

71Q6-22470

DUCT-DEFROSTER(4)

1шт.

6-36

S002-06010B

SCREW-TRUS HEAD

2шт.

6-37

S002-06015B

SCREW-TRUS HEAD

21шт.

6-42

S403-06200B

WASHER-PLAIN

2шт.

6-47

71Q6-23060

CAP-WIPER MOTOR(4)

1шт.

28

S520-085000

CLAMP-HOSE

2шт.

Выбрано товаров: 18