Запчасти Hyundai R210LC9 PAGE 6280 TOOL BOX(-#0094) СТРУКТУРА

Схема запчастей Hyundai R210LC9 - PAGE 6280 TOOL BOX(-#0094) СТРУКТУРА
FIT
1:1
100%

Артикул

Название

Примечание

Количество

*

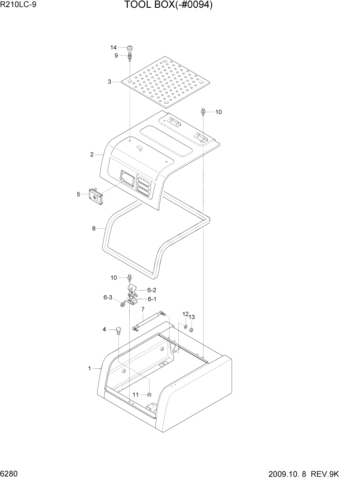
71Q6-40102

TOOL BOX ASSY

#0061

1шт.

*

71Q6-40103

TOOL BOX ASSY

#0062 - #0094

1шт.

1

71Q6-41003

TOOL BOX WA

#0061

1шт.

1

71Q6-41004

TOOL BOX WA

#0062

1шт.

2

71Q6-42002

COVER WA

1шт.

3

71Q6-45100

PLATE-NON SLIP

1шт.

4

71Q6-41200

STOPPER-RUBBER

4шт.

5

71Q6-41400

CATCH ASSY

1шт.

6

71Q6-41500

STRIKER ASSY

1шт.

6-1

71Q6-41511

BRACKET

1шт.

6-2

71Q6-41550

BRACKET WA

1шт.

6-3

S037-102556

BOLT-W/WASHER

2шт.

7

71Q6-41600

GAS SPRING ASSY

1шт.

8

S776-030900

WEATHER STRIP

1шт.

9

71Q6-50020

BOLT-W/WASHER,HEX

4шт.

10

S037-102556

BOLT-W/WASHER

6шт.

11

S275-06000B

NUT-SELF LOCKING

8шт.

12

S403-08200B

WASHER-PLAIN

2шт.

13

S203-08100B

NUT-HEX

2шт.

14

71Q6-41700

CAP

4шт.

Выбрано товаров: 20