Запчасти Hyundai R210LC9 PAGE 2100 FUEL FILLER PUMP ЭЛЕКТРИЧЕСКАЯ СИСТЕМА

Схема запчастей Hyundai R210LC9 - PAGE 2100 FUEL FILLER PUMP ЭЛЕКТРИЧЕСКАЯ СИСТЕМА
FIT
1:1
100%

Артикул

Название

Примечание

Количество

*

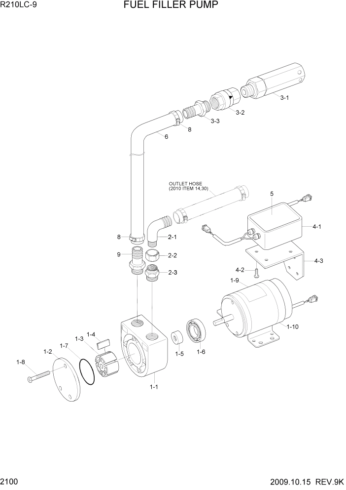
21Q6-31001

FUEL FILLER PUMP

#0094

1шт.

*

21Q6-31002

FUEL FILLER PUMP

#0095

1шт.

1

21Q6-36000

PUMP & MOTOR ASSY

#0094

1шт.

1

21Q6-36001

PUMP & MOTOR ASSY

#0095

1шт.

1-1

@

BODY

NOT

1шт.

1-2

@

COVER-BODY

NOT

1шт.

1-3

@

ROTOR

NOT

1шт.

1-4

@

VANE

NOT

4шт.

1-5

@

SEAL-OIL

NOT

1шт.

1-6

@

BEARING

NOT

1шт.

1-7

@

O-RING

NOT

1шт.

1-8

@

SCREW

NOT

3шт.

1-9

@

LABEL

NOT

1шт.

1-1

@

MOTOR

NOT

1шт.

2

21Q6-36100

HOSE ADAPTOR KIT

1шт.

2-1

@

ELBOW

NOT

1шт.

2-2

@

FITTING-ELBOW

NOT

1шт.

2-3

@

COUPLIING-ELBOW

NOT

1шт.

3

21Q6-36200

FOOT VALVE KIT

1шт.

3-1

@

PROTECTOR-SCREEN

NOT

1шт.

3-2

@

CHECK VALVE

NOT

1шт.

3-3

@

ADAPTOR-HOSE

NOT

1шт.

4

21Q6-36300

CONTROL SWITCH KIT

#0094

1шт.

4

21Q6-36301

CONTROL SWITCH KIT

#0095

1шт.

4-1

@

CONTROL SWITCH ASSY

NOT

1шт.

4-2

@

SCREW-TAPPING

NOT

4шт.

4-3

@

BRACKET-SWITCH

NOT

1шт.

5

21Q6-36400

LABEL

1шт.

6

21Q6-36500

HOSE-PVC

1шт.

8

21Q6-36700

CLAMP

2шт.

9

21Q6-36800

NIPPLE

1шт.

Выбрано товаров: 31