Запчасти Hyundai R320LC9 PAGE 6280 TOOL BOX СТРУКТУРА

Схема запчастей Hyundai R320LC9 - PAGE 6280 TOOL BOX СТРУКТУРА
FIT
1:1
100%

Артикул

Название

Примечание

Количество

*

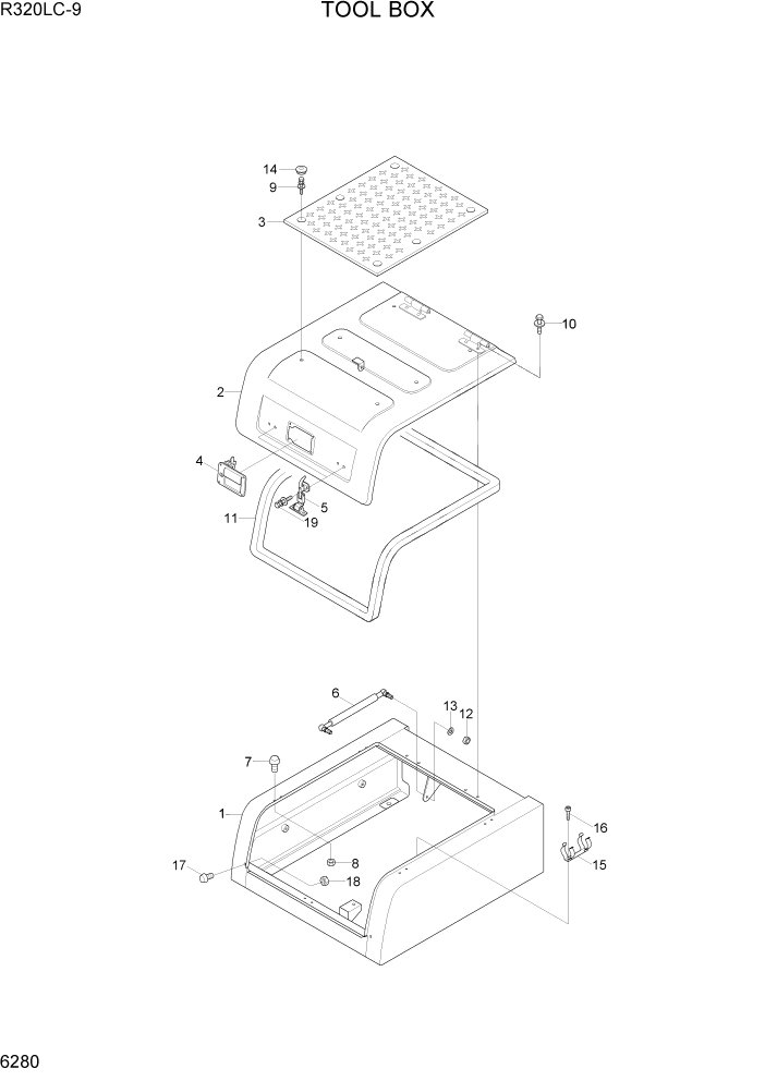
71Q8-40105

TOOL BOX ASSY

1шт.

1

71Q8-41005

TOOL BOX WA

1шт.

2

71Q8-42003

COVER WA

1шт.

3

71Q8-45101

NON SLIP PLATE

1шт.

4

71Q6-42600

HOLDER-PULLS

1шт.

5

71Q6-42400

CATCH ASSY

2шт.

6

71Q6-41600

GAS SPRING ASSY

1шт.

7

71Q6-41200

STOPPER-RUBBER

4шт.

8

S275-060006

NUT-SELF LOCKING

8шт.

9

71Q6-50020

BOLT-W/WASHER

6шт.

10

S037-102556

BOLT-W/WASHER

4шт.

11

S776-034500

WEATHER STRIP

1шт.

12

S203-081006

NUT-HEX

2шт.

13

S403-08200B

WASHER-PLAIN

2шт.

14

71Q6-41700

CAP

6шт.

15

71M9-52200

CLAMP WA- BAND

1шт.

16

S109-080156

BOLT-SOCKET

2шт.

17

71Q6-41900

STOPPER-RUBBER

2шт.

18

S275-08000B

NUT-SELF LOCKING

2шт.

19

S035-082026

BOLT-W/WASHER

8шт.

Выбрано товаров: 20