Запчасти Hyundai R15-7 PAGE A070 FUEL INJECTION PUMP ДВИГАТЕЛЬ БАЗА

Схема запчастей Hyundai R15-7 - PAGE A070 FUEL INJECTION PUMP ДВИГАТЕЛЬ БАЗА
FIT
1:1
100%

Артикул

Название

Примечание

Количество

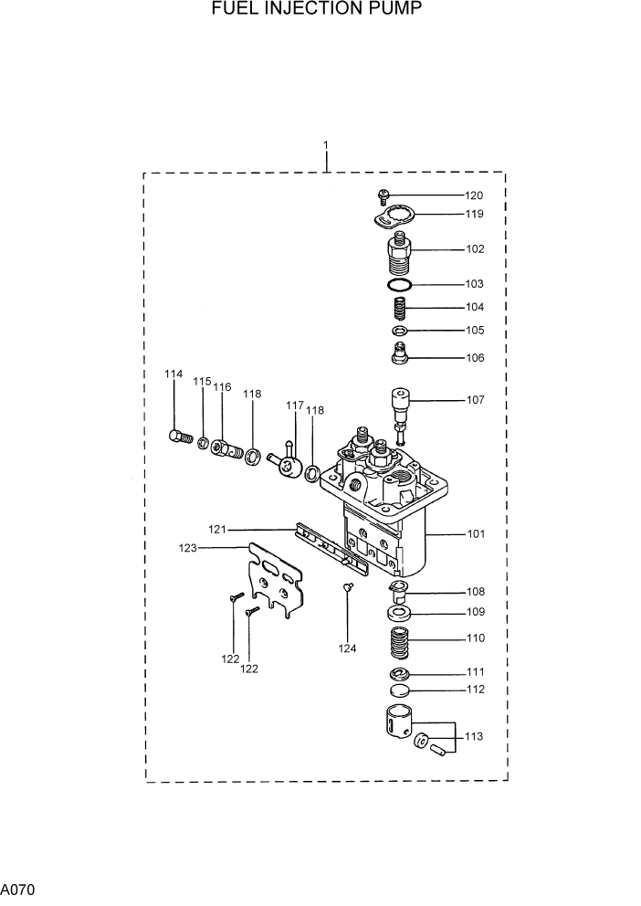
1

XJAF-02216

PUMP ASSY-FUEL INJECT

1шт.

101

XJAF-01191

HOUSING SUB ASSY

1шт.

102

XJAF-01194

HOLDER-DELIVERY

3шт.

103

XJAF-01816

O-RING

3шт.

104

XJAF-01195

SPRING-DELIVERY

3шт.

105

XJAF-01197

GASKET-DELIVERY

3шт.

106

XJAF-01198

VALVE SUB ASSY

3шт.

107

XJAF-01200

ELEMENT SUB ASSY

3шт.

108

XJAF-01202

SLEEVE SUB ASSY

3шт.

109

XJAF-01205

SEAT-SPRING UPPER

3шт.

110

XJAF-01189

SPRING-PLUNGER

3шт.

111

XJAF-01207

SEAT-SPRING LOWER

3шт.

N112

@

PLATE-TAPPET SHIM

NOT

ARшт.

113

XJAF-01209

TAPPET SUB ASSY

3шт.

114

XJAF-01217

SCREW-AIR BLEEDER

1шт.

115

XJAF-01220

WASHER-DRAIN SCREW

1шт.

116

XJAF-01219

SCREW-HOLLOW

1шт.

117

XJAF-01226

NIPPLE-SWIVEL

1шт.

118

XJAF-01221

WASHER-DRAIN UNION

2шт.

119

XJAF-01216

PLATE-LOCK

3шт.

120

XJAF-01824

SCREW-W/WASHER

3шт.

121

XJAF-01215

RACK ASSY-CONTROL

1шт.

122

XJAF-01823

SCREW-COUNTERSUNK

2шт.

123

XJAF-01224

BRACKET-STOP WIRE

1шт.

124

XJAF-01213

PIN-TAPPET GUIDE

3шт.

N

@

NOT INDIVIDUALLY SUPPLIED

NOT

ARшт.

Выбрано товаров: 26