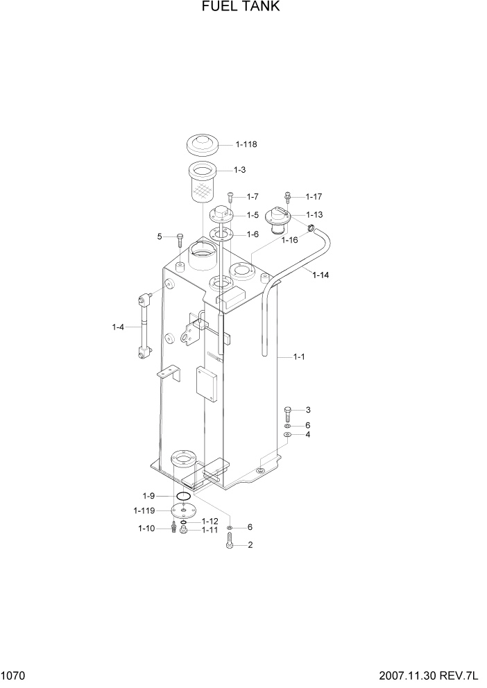
Запчасти Hyundai R35-7Z PAGE 1070 FUEL TANK СИСТЕМА ДВИГАТЕЛЯ

Схема запчастей Hyundai R35-7Z - PAGE 1070 FUEL TANK СИСТЕМА ДВИГАТЕЛЯ
FIT
1:1
100%

Артикул

Название

Примечание

Количество

1

@

FUEL TANK ASSY

NOT

1шт.

1-1

31MH-02012

FUEL TANK WA

#0085

1шт.

1-1

31MH-02013

FUEL TANK WA

#0086

1шт.

1-118

11LB-20050

FUEL CAP ASSY

#0001

1шт.

1-119

31MH-02141

COVER-DRAIN

#0001

1шт.

1-3

31E1-10300

STRAINER

1шт.

1-4

31N6-02600

GAUGE-LEVEL

1шт.

1-5

21MH-00140

SENDER-FUEL LEVEL

1шт.

1-6

E128-1053

GASKET

1шт.

1-7

S151-050156

SCREW-TAPPING

5шт.

1-9

S632-040001

O-RING

1шт.

1-1

S035-082526

BOLT-W/WASHER

4шт.

1-11

P220-110102

PLUG

1шт.

1-12

S631-011004

O-RING

1шт.

1-13

11FA-50300

FUEL CUT VALVE

1шт.

1-14

11FA-52210

HOSE

1шт.

1-16

S520-015000

CLAMP-HOSE

1шт.

1-17

S131-051546

SCREW-W/WASHER

3шт.

2

S017-120406

BOLT-HEX

2шт.

3

S037-123056

BOLT-W/WASHER

1шт.

4

41M5-51920

SHIM(1.0T)

4шт.

5

S017-120156

BOLT-HEX

2шт.

6

S441-120006

WASHER-HARDENED

4шт.

Выбрано товаров: 23