Запчасти Hyundai R36N-7 PAGE 5007 TRAVEL VALVE ГИДРАВЛИЧЕСКАЯ СХЕМА

Схема запчастей Hyundai R36N-7 - PAGE 5007 TRAVEL VALVE ГИДРАВЛИЧЕСКАЯ СХЕМА
FIT
1:1
100%

Артикул

Название

Примечание

Количество

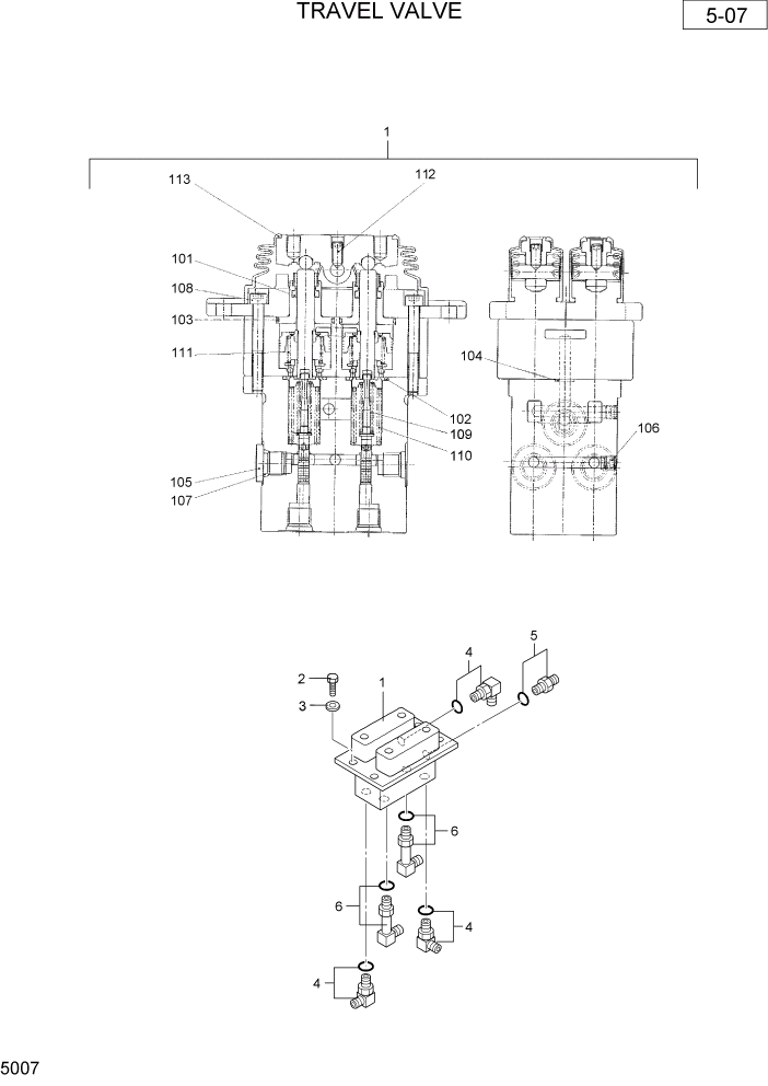
1

XJDH-01952

VALVE-PILOT

TRAVEL

1шт.

101

XJDH-03331

PACKING

4шт.

102

XJDH-03332

O-RING

4шт.

103

XJDH-03333

O-RING

4шт.

104

XJDH-02918

O-RING

2шт.

105

XJDH-03334

RO-PLUG

3шт.

106

XJDH-03335

PLUG

2шт.

107

XJDH-00328

O-RING

3шт.

108

XJDH-03336

BOLT-SOCKET HEAD

4шт.

109

XJDH-03337

SPRING

4шт.

110

XJDH-03338

SPRING

4шт.

111

XJDH-03339

SPRING

4шт.

112

XJDH-03340

SET SCREW

2шт.

113

XJDH-03341

BELLOWS

2шт.

2

XJDH-00058

BOLT

4шт.

3

XJDH-00278

WASHER

4шт.

4

XJDH-00467

ELBOW-MALE 90

3шт.

5

XJDH-00445

CONNECTOR-MALE

1шт.

6

XJDH-00480

ADAPTER-LONG 90

2шт.

Выбрано товаров: 19