Запчасти Hyundai R36N-7 PAGE 5008 DOZER VALVE ГИДРАВЛИЧЕСКАЯ СХЕМА

Схема запчастей Hyundai R36N-7 - PAGE 5008 DOZER VALVE ГИДРАВЛИЧЕСКАЯ СХЕМА
FIT
1:1
100%

Артикул

Название

Примечание

Количество

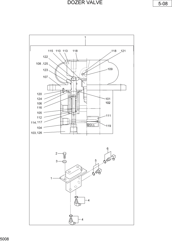
1

XJDH-01755

VALVE-PILOT

DOZER

1шт.

101

XJDH-01986

SHIM

2шт.

102

XJDH-01987

SHIM

2шт.

103

@

BODY

NOT

1шт.

104

@

SPOOL

NOT

2шт.

105

XJDH-01988

SPRING-COMP

2шт.

106

XJDH-01989

SLEEVE

2шт.

107

XJDH-03742

COVER

1шт.

108

@

PUSHER

NOT

2шт.

109

XJDH-01990

PIN

1шт.

110

XJDH-01991

BOOT

1шт.

111

@

NAME PLATE

NOT

1шт.

112

XJDH-01992

SPRING-COMP

2шт.

113

XJDH-03745

CAM

1шт.

114

XJDH-01993

SHIM

2шт.

115

XJDH-00132

BOLT-SOCKET HEAD

1шт.

116

XJDH-00113

BOLT-FLANGE

2шт.

117

XJDH-00247

WASHER

2шт.

118

XJDH-00249

WASHER

4шт.

119

XJDH-03746

SCREW

2шт.

120

XJDH-00306

PIN-SPRING

2шт.

121

XJDH-00302

PIN-SPLIT

2шт.

122

XJDH-03747

BALL-STEEL

2шт.

123

XJDH-00326

O-RING

2шт.

124

XJDH-00336

O-RING

2шт.

125

XJDH-01994

PUSHER ASSY

2шт.

126

XJDH-03748

BODY ASSY

1шт.

2

XJDH-00059

BOLT

2шт.

3

XJDH-00278

WASHER

2шт.

4

XJDH-00462

ELBOW-MALE 45

2шт.

5

XJDH-00467

ELBOW-MALE 90

1шт.

6

XJDH-00480

ADAPTER-LONG 90

1шт.

Выбрано товаров: 32