Запчасти Hyundai R55-7A PAGE 6320 UPPER FRAME & COUNTERWEIGHT СТРУКТУРА

Схема запчастей Hyundai R55-7A - PAGE 6320 UPPER FRAME & COUNTERWEIGHT СТРУКТУРА
FIT
1:1
100%

Артикул

Название

Примечание

Количество

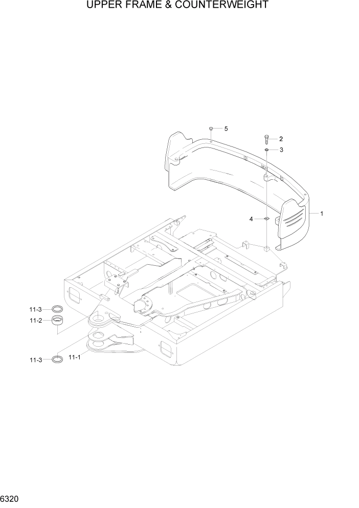
1

41M8-23002

COUNTERWEIGHT

WITHOUT LOGO

1шт.

2

S017-20090D

BOLT-HEX

3шт.

3

S441-200006

WASHER-HARDENED

3шт.

4

41M5-51920

SHIM(1.0T)

3шт.

5

41M5-80030

CAP

2шт.

11

41M8-30004

UPPER FRAME ASSY

1шт.

11-1

41M8-30015

UPPER FRAME WA

1шт.

11-2

41M8-30500

BUSHING-CENTER

1шт.

11-3

S700-110208

DUST SEAL-DKIY TYPE

2шт.

Выбрано товаров: 9