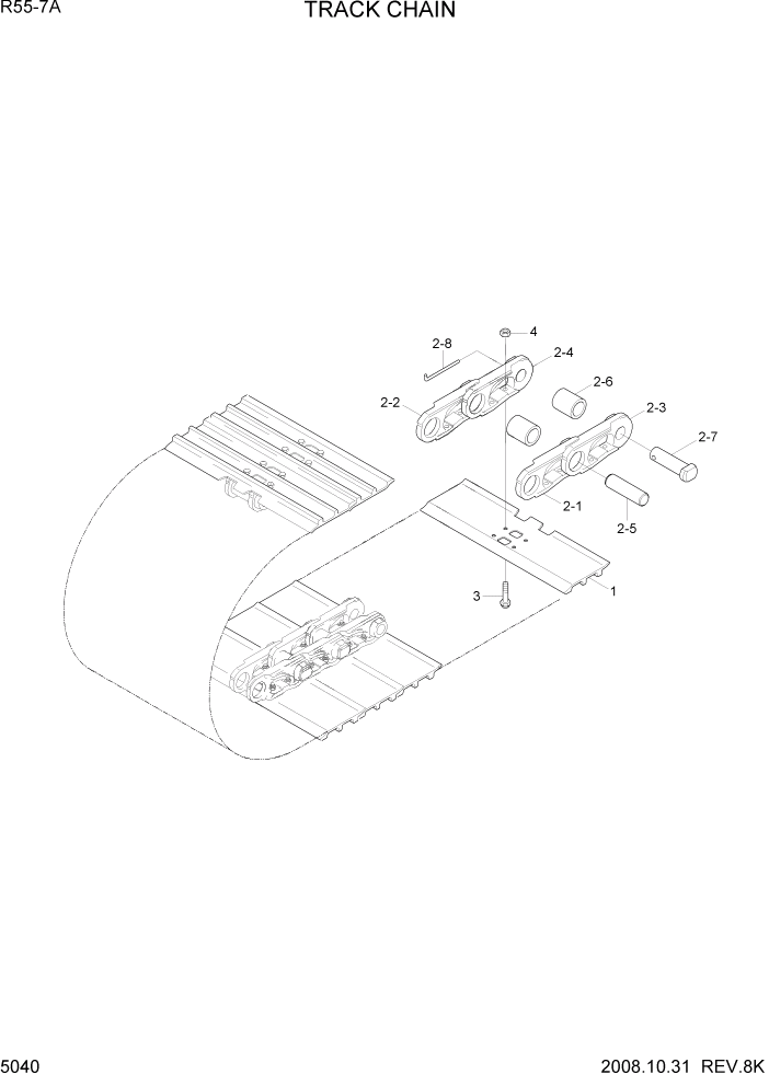
Запчасти Hyundai R55-7A PAGE 5040 TRACK CHAIN ХОДОВАЯ ЧАСТЬ

Схема запчастей Hyundai R55-7A - PAGE 5040 TRACK CHAIN ХОДОВАЯ ЧАСТЬ
FIT
1:1
100%

Артикул

Название

Примечание

Количество

*

81M7-51001

TRACK CHAIN ASSY

2шт.

1

81M5-51090

TRACK SHOE

40шт.

*

81M7-51001

TRACK CHAIN ASSY

400MM SHOE #0150

2шт.

2

81M6-51122

TRACK LINK ASSY

1шт.

*

81M9-27010

TRACK CHAIN ASSY

400MM SHOE #0151

2шт.

1

81M5-51090

TRACK SHOE

#0150

40шт.

1

81M9-27510

TRACK SHOE

#0151

40шт.

2-3

81M5-51031

MASTER LINK-LH

1шт.

2-4

81M5-51041

MASTER LINK-RH

1шт.

2

81M6-51122

TRACK LINK ASSY

#0150

1шт.

2

81M9-26600

TRACK LINK ASSY

#0151

1шт.

2-1

81M5-51010

TRACK LINK-LH

#0150

39шт.

2-7

81M6-51072

PIN-MASTER

1шт.

2-1

81M9-26110

TRACK LINK-LH

#0151

39шт.

2-8

81M5-51082

PIN-CLAMPING

1шт.

*-1

81M5-T0000

TRACK BOLT & NUT KIT

160шт.

2-2

81M5-51020

TRACK LINK-RH

#0150

39шт.

2-2

81M9-26100

TRACK LINK-RH

#0151

39шт.

2-3

81M5-51031

MASTER LINK-LH

#0150

1шт.

2-3

81M9-26130

MASTER LINK-LH

#0151

1шт.

2-4

81M5-51041

MASTER LINK-RH

#0150

1шт.

2-4

81M9-26120

MASTER LINK-RH

#0151

1шт.

2-5

81M5-51051

TRACK PIN;REGULAR

#0150

39шт.

2-5

81M9-26140

TRACK PIN;REGULAR

#0151

39шт.

2-6

81M5-51060

BUSHING

#0150

40шт.

2-6

81M9-26150

BUSHING

#0151

40шт.

2-7

81M6-51072

PIN-MASTER

#0150

1шт.

2-7

81M9-26160

PIN-MASTER

#0151

1шт.

2-8

81M5-51082

PIN-CLAMPING

1шт.

*-1

81M5-T0000

TRACK BOLT & NUT KIT

160шт.

3

81M5-51100

BOLT-TRACK

160шт.

4

81M5-51110

NUT-TRACK

160шт.

*

81M9-26010

TRACK CHAIN ASSY

380MM SHOE #0151 - #0151

2шт.

1

81M9-26510

TRACK SHOE

#0151 - #0151

40шт.

*

81M9-24010

TRACK CHAIN ASSY

DCF 380MM SHOE #0151 - #0151

2шт.

1

81M9-24510

TRACK SHOE

#0151 - #0151

40шт.

*

81M9-25010

TRACK CHAIN ASSY

DCF 400MM SHOE #0151

2шт.

1

81M9-25510

TRACK SHOE

#0151

40шт.

Выбрано товаров: 38